Das taktile Interface – Entwicklungen von Computermaus, Joystick, Tastatur
Auch wenn die Bezeichnung ›Interface‹ in der Regel in Verbindung mit Softwareprodukten fällt, soll einmal mehr auch auf jene Interfaces hingewiesen werden, denen wir in der realen Welt begegnen. Nicht zuletzt bedienen wir uns der taktilen Interfaces in Form von Eingabegeräten wie der Tastatur bzw. Computermaus, um die Interfaces von Software überhaupt ›berühren‹ zu können. Aus funktionaler Sicht sind die Regeln, die es bei der Planung und Erstellung von Interfaces zu beachten gilt, für Hardware- und Softwareprodukten nahezu identisch. Sobald allerdings Aspekte der realen Welt zu beachten sind, die in einer virtuellen Umgebung keine entscheidende Rolle spielen, ergeben sich die wesentlichsten Unterschiede. In diesem Zusammenhang sei erneut darauf hingewiesen, dass ein Interface nicht nur Funktionen, sondern auch Emotionen repräsentieren kann und einen nicht unwesentlichen Anteil daran hat, welches Image ein Produkt hat (siehe Artikel ›Das Interface als Bedeutungsträger – Image, Branding‹).
So kann es nicht schaden, wenn ein Mobiltelefon nicht nur funktional leicht und gerne bedient wird, sondern zugleich ein Handschmeichler ist, um so die sympathischen Eigenschaften greifbar zu machen. Taktile Interfaces gibt es zu abertausenden. Oft werden sie nur unbewusst wahrgenommen, manchmal sind sie funktional zwar nicht zwingend erforderlich, helfen aber dennoch beim Umgang mit einem Produkt. Denken Sie an die Rillen des Füllfederhalters, die in der Werbung als dringend erforderliche Bremsrillen gepriesen werden, damit der Zeigefinger nicht auf die Schreibfeder rutscht, oder an die Schalter an der Tür, die bei manchen Straßenbahnen wie Schalter aussehen, aber weder Klick-Geräusche machen, noch sich mechanisch bewegen, wenn man sie bedient. Was wie taktile Interfaces aussieht, sollte auch die Erwartungen solcher erfüllen können. Rückmeldungen, ob etwas gut funktioniert oder ob etwas überhaupt funktioniert, sind ganz wesentliche, erwartete Aspekte. Dass die Schalter zum Öffnen der Türen beim ICE der Deutschen Bahn nur leuchten, nachdem man sie betätigt hat, gilt in der realen Welt als nicht ausreichend.
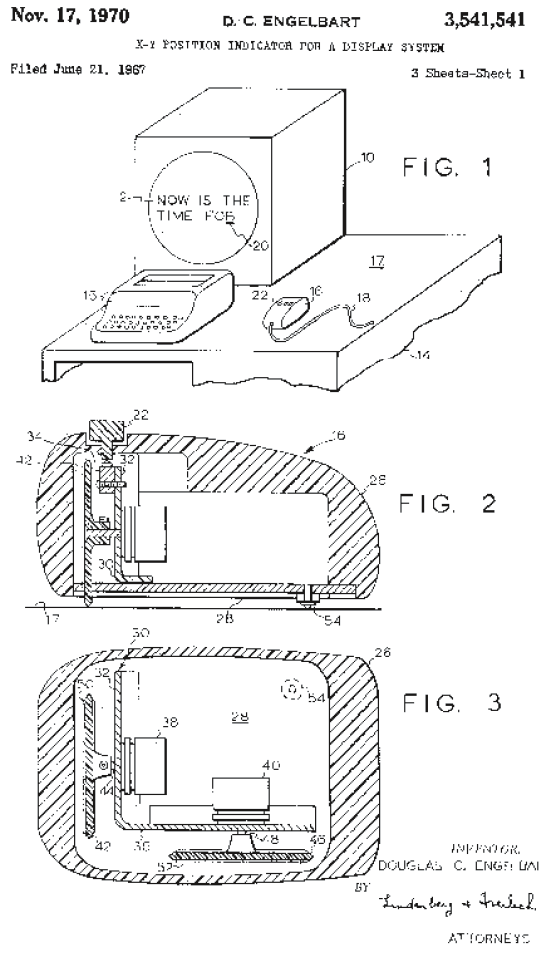
![Auch wenn die Bezeichnung ›Interface‹ in der Regel in Verbindung mit Softwareprodukten fällt, soll einmal mehr auch auf jene Interfaces hingewiesen werden, denen wir in der realen Welt begegnen. Nicht zuletzt bedienen wir uns der taktilen Interfaces in Form von Eingabegeräten wie der Tastatur bzw. Computermaus, um die Interfaces von Software überhaupt ›berühren‹ zu können. Aus funktionaler Sicht sind die Regeln, die es bei der Planung und Erstellung von Interfaces zu beachten gilt, für Hardware- und Softwareprodukten nahezu identisch. Sobald allerdings Aspekte der realen Welt zu beachten sind, die in einer virtuellen Umgebung keine entscheidende Rolle spielen, ergeben sich die wesentlichsten Unterschiede. In diesem Zusammenhang sei erneut darauf hingewiesen, dass ein Interface nicht nur Funktionen, sondern auch Emotionen repräsentieren kann und einen nicht unwesentlichen Anteil daran hat, welches Image ein Produkt hat (siehe Artikel ›Das Interface als Bedeutungsträger – Image, Branding‹). So kann es nicht schaden, wenn ein Mobiltelefon nicht nur funktional leicht und gerne bedient wird, sondern zugleich ein Handschmeichler ist, um so die sympathischen Eigenschaften greifbar zu machen. Taktile Interfaces gibt es zu abertausenden. Oft werden sie nur unbewusst wahrgenommen, manchmal sind sie funktional zwar nicht zwingend erforderlich, helfen aber dennoch beim Umgang mit einem Produkt. Denken Sie an die Rillen des Füllfederhalters, die in der Werbung als dringend erforderliche Bremsrillen gepriesen werden, damit der Zeigefinger nicht auf die Schreibfeder rutscht, oder an die Schalter an der Tür, die bei manchen Straßenbahnen wie Schalter aussehen, aber weder Klick-Geräusche machen, noch sich mechanisch bewegen, wenn man sie bedient. Was wie taktile Interfaces aussieht, sollte auch die Erwartungen solcher erfüllen können. Rückmeldungen, ob etwas gut funktioniert oder ob etwas überhaupt funktioniert, sind ganz wesentliche, erwartete Aspekte. Dass die Schalter zum Öffnen der Türen beim ICE der Deutschen Bahn nur leuchten, nachdem man sie betätigt hat, gilt in der realen Welt als nicht ausreichend. [caption id="attachment_340" align="alignnone" width="563"] [/caption] [caption id="attachment_341" align="alignnone" width="563"] Douglas C. Engelbart und William English entwickelten 1963–64 am Stanford Research Institute (SRI) den ›X-Y-Positions-Anzeiger für ein Bildschirmsystem‹ im Zusammenhang mit Untersuchungen, wie man das Zeigen und Auswählen einzelner Elemente auf einem Bildschirm ermöglichen kann.[/caption] Selbst ein bequemes Sofa kann als taktiles Interface gelten, wenn es so bequem ist, dass man gar nicht mehr hinaus möchte aus diesem guten Gefühl des Geborgenen. Wenn sich Verpackungen nicht öffnen oder nur ungünstig aufreißen lassen, erlebt man das taktile solcher Verschluss-Interfaces umso intensiver. Wenn das taktile Interface allerdings die Erwartungen, die es weckt, befriedigt und z. B. ein Bügelverschluss wie der einer bekannten Biermarke beim Benutzen (Öffnen) ein angenehmes Plopp-Geräusch macht, also geradezu rituell und somit in die Erzählform eingebunden das Benutzen dieses taktilen Interfaces zum spielerischen Ereignis werden lässt, ist der Kunde zufrieden und das Image von Produkt und Hersteller positiv geprägt. Haben Sie mal darüber nachgedacht, ob es nützlich sein könnte, wenn man durch Schütteln eines mobilen Gerätes unliebsame Textinhalte bewusst löschen könnte oder man den Anrufer bereits an der Art der Vibration des eigenen Mobiltelefons bzw. am Klingelton erkennt? In den Labors des Massachusetts Institute of Technology (MIT) wird an so genannten ›Tangible Bits‹ geforscht. Sensoren messen am Mobiltelefon des Absenders z. B. den Druck von der Hand und modulieren daraus digitale Informationen. Bei Computerspielen werden solche Effekte ›Force Feedback‹ genannt und sind bereits Standard. Mit derselben Technologie, haptische Signale zu versenden, könnte man interessante Kommunikationsspiele veranstalten, oder Blinde bzw. Schwerhörige könnten barrierefrei Botschaften senden. Was ein Rückschritt ins Zeitalter des Morsealphabets zu sein scheint, kann bei genauerer Betrachtung als neue Strategie für taktile Interfaces verstanden werden. [caption id="attachment_342" align="alignnone" width="563"] Mit dem Graficon, einem experimentellen Eingabegerät aus dem Jahr 1963–64, wird die Suche nach geeigneten Methoden deutlich, mit denen man auf die am Bildschirm abgebildeten Inhalte eingreifen kann.[/caption] Wenn Sie taktile Interfaces entwickeln möchten, deren Nutzung ein Erlebnis darstellen oder zumindest eine Zufriedenheit auslösen sollen, dann sollten Sie Ihre Umwelt bis ins kleinste Detail bewusst wahrnehmen und auch die kleinen Erlebnisse, die Sie dabei machen, erfassen. Dann sind Sie gut vorbereitet, um die folgenden Interfaces neu zu überdenken: Computer-Maus, Joystick, Scrollrad bzw. Drehrad, Tastatur und die Texteingabe bei mobilen Geräten. Computer-Maus Erst mit der Computer-Maus wurde eine direkte Interaktion zwischen Mensch und Computer möglich, die auch als solche empfunden wird, unabhängig davon, ob der Cursor nun durch ein Pfeiloder ein Handsymbol dargestellt und so die virtuelle Hand des Anwenders bzw. die Verlängerung seines Armes repräsentiert wird. Die Computer-Maus wurde 1963/1964 von Douglas C. Engelbart und William English am Stanford Research Institute (SRI) entwickelt und wurde damals noch X-Y-Positions-Anzeigerfür ein Bildschirmsystem genannt. Sie rollt auf zwei Rädern, durch die der zurückgelegte Weg ermittelt wird. Detaillierte Informationen zur Erfindung der Computer-Maus inklusive den Videos von Engelbarts legendären Demonstration seiner Erfindung, die er 1968 am Stanford Research Institute (SRI) vorführte, sind zu finden unter: http://sloan.stanford.edu/MouseSite. Wirklich populär wurde die Computer-Maus erst 1987, als die Zahl der grafischen Benutzeroberflächen rasant zunahm und außerdem in diesem Jahr das Patent für den X-Y-Positions-Anzeiger auslief. [caption id="attachment_343" align="alignnone" width="539"] Patentschrift zur Computer-Maus von Douglas C. Engelbart, 1970.[/caption] Die Computer-Maus erfuhr zahlreiche evolutionäre Etappen. Es gibt sie in zahlreichen Varianten, mal mit nur einer Taste, beim Mac-Rechner, oder mit drei Tasten, beim PC, einige haben ein Scrollrad, andere mehr als drei Tasten. Mit der Mighty Mouseversucht Macintosh einerseits der Eintasten-Maus treu zu bleiben, aber andererseits dem Bedarf nach einer Multifunktionsmaus gerecht zu werden. [caption id="attachment_344" align="alignnone" width="624"] Der Scrollball übernimmt bei der Mighty Mouse die Funktion des Scrollrads, kann allerdings nicht nur senkrechte Bewegungen steuern, sondern lässt sich wie einen Joystick bewegen. Mit dieser Maus kann man Klicken, Rollen, Drücken und Blättern. Vier Tasten sind zudem programmierbar.[/caption] Bereits die Computer-Maus aus den Anfängen des Personal Computers ermöglichte eine relativ präzise Auswahl, wenn man von den Folgen durch die Verschmutzung der Rollkugel einmal absieht. Ganz off ensichtlich scheinen die diesbezüglichen Verbesserungen in speziellen Bereichen bis heute nicht auszureichen. Die schweizerische Firma Force Dimension entwickelte das 3-DOF OMEGA Haptic Device, eine Computer-Maus, der man bereits ansieht, dass mit ihr eine bisher nicht erreichte Präzision möglich ist, sofern man dieses Gerät überhaupt noch als Computer-Maus erkennt. Die Entwickler nennen dieses Gerät auch selbst ›versatile Interface‹, was auch angemessener erscheint als die Bezeichnung Computer-Maus. Schließlich ist dieses Gerät für ein haptisches Interagieren in medizinischen Computerdarstellungen und anderen virtuellen Simulationen konzipiert. [caption id="attachment_345" align="alignnone" width="624"] 3-DOF OMEGA Haptic Device von Force Dimension (www.forcedimension.com).[/caption] Es gibt stets neue Entwicklungen im Funktionsbereich, den eine Computer-Maus abdeckt, so dass hier nur ein kleiner Einblick gegeben werden kann. Erwähnenswert wäre noch der ›Navigator‹, der in Zusammenarbeit mit Adobe und Logitech entwickelt wurde. Das Produkt heißt NuLOOQ Professional Seriesund besteht aus dem Eingabegerät ›Navigator‹ und der Soft ware ›Tooldial‹. Der Navigator besitzt einen Navigationsring, mit dem man z. B. zoomen kann, und ein Clickwheel, einem Drehrad, so wie man es vom iPod her kennt. Mit dem Clickwheel können z. B. die Werkzeuge und deren Größe verändert werden. Die Soft ware ›Tooldial‹ und diverse PlugIns der Adobe-Produkte sichern den reibungslosen und zweckdienlichen Dialog zwischen dem Navigator und der Adobe-Soft ware. Schade, dass man nur Adobe-Produkte mit ihm steuern kann. Seltsamerweise ist dieses vielseitige Werkzeug nur für den Macintosh erhältlich. [caption id="attachment_346" align="alignnone" width="473"] NuLOOQ Professional Series ist eine Entwicklung von Adobe und Logitech (siehe auch ›Scrollrad, Drehrad‹ in diesem Kapitel und ›Pie-Menü‹ im Kapitel ›Interactiondesign‹)[/caption] Ansonsten gibt es weitere taktile Eingabegeräte, die prinzipiell dasselbe ermöglichen wie eine Computer-Maus, die aber für spezialisierte Einsatzgebiete, wie z. B. für Anwender mit eingeschränkter Motorik, modifiziert wurden. Dank einer Erweiterung für den Browser FireFox kann man zumindest bei diesem Browser auch ganz ohne Computer-Maus navigieren. Mit Mouseless Browsingwird jedem Link automatisch eine Nummer zugewiesen, wodurch diese Entwicklung von Rudolf Noe die Mausbedienung im Browser vollständig ersetzen soll. Die Eingabe einer Zahl über die Tastatur genügt, um zu navigieren. [caption id="attachment_347" align="alignnone" width="624"] Navigation ohne Computer-Maus, sondern durch Eingabe der jeweiligen Nummer am Link (http://rudolf-noe.de).[/caption] Joystick Als die wesentlichste Veränderung der Computer-Maus kann wohl der Joystick gelten. Er ermöglicht zwar eine nicht ganz so präzise Steuerung wie die Computer-Maus, ist aber auch in erster Linie ein Steuergerät, mit dem nur eine Richtung vorgegeben wird. Wie bei der Steuerung eines Fahr- bzw. Fluggerätes ermöglicht der Joystick das Lenken in verschiedene Richtungen und den Vortrieb in die Richtung, in die man den Joystick zuletzt bewegt hat. Der Joystick eignet sich hervorragend dazu, den Computer-Cursor bzw. eine Markierung in die Richtungen rechts, links, hoch und runter zu bewegen. Für den präzisen Vortrieb ist er nicht so gut geeignet. Sofern man sich wie z. B. bei Computerspielen in virtuellen, dreidimensionalen Welten bewegt, fällt dieses Manko nicht so stark auf. Geht es allerdings darum, eine Schreibmarke mit dem Joystick in eine genaue Position im Text zu bewegen, werden die Grenzen dieses taktilen Eingabegerätes deutlich. Wer je ein IBM ThinkPad Notebook besaß und versuchte, den Trackpoint dieses Notebooks, einen Mini-Joystick, der sich zwischen den Tasten G, H und B, befindet, zu benutzen, musste schmerzhaft die Grenzen eines Joysticks kennen lernen. Da die wesentliche Funktion eines Joysticks allerdings in der Richtungsvorgabe besteht, waren die Pfeiltasten auf der Computer-Tastatur stets ein geeigneter Ersatz für den präziseren Vortrieb. Bei mobilen Geräten (Gameboy, Mobiltelefon, MP3-Player, Fernbedienung etc.) etablierten sich die NavigationKeysals Schalterwippe mit der OK-Taste in der Mitte als Joystick-Alternative. [caption id="attachment_348" align="alignnone" width="619"] Der klassische Joystick für die Computerkonsole.[/caption] [caption id="attachment_349" align="alignnone" width="624"] IBM bietet die Tastaturen M13 mit Joystick an, der hier Trackpoint genannt wird.[/caption] [caption id="attachment_350" align="alignnone" width="565"] Der Joystick im Renault Espace Laguna kann zusätzlich zu den Richtungen auch in Rotation bewegt werden und bietet durch sein Drehrad zahlreiche weitere Funktionsmöglichkeiten (siehe auch ›Scrollrad, Drehrad‹).[/caption] [caption id="attachment_351" align="alignnone" width="568"] Da sich die Pfeiltasten der Computertastatur und auch die Anordnung der meisten numerischen Tastaturen der Mobiltelefone als NavigationsKeys eignen, lag es nahe, einen Joystick-Aufsatz zu entwickeln. Der Mircosoft SideWind Turbo Joystick harmoniert mit jeder bei Mircosoft erhältlichen Hard- und Software.[/caption] [caption id="attachment_352" align="alignnone" width="551"] Der SnakeBITE-Joystick ist für Nokia-Telefone kompatibel.[/caption] [caption id="attachment_353" align="alignnone" width="624"] Auf Grund des einfachen Funktionsprinzips eignet sich der Joystick auch für Kinderspiele. V.Smile ist eine Lernkonsole für drei- bis achtjährige. Mit V.Smile wird der Fernseher zum interaktiven Lernmedium (Foto: © Vtech, www.vtech.com).[/caption] [caption id="attachment_354" align="alignnone" width="293"] Der Joystick oder entsprechende NavigationsKeys bieten sich bei mobilen Geräten zur Steuerung an, da diese in der Regel mit dem Daumen bedient werden. Das Mobiltelefon Samsung SCH-V450 macht beide Möglichkeiten sehr gut deutlich.[/caption] [caption id="attachment_355" align="alignnone" width="624"] Der Joystick ›X 52 Hotas‹ der Firma Saitek stellt wohl die größtmögliche Auslotung der Möglichkeiten eines Joysticks dar und heißt ›PC Flug-Steuerungs-System‹ (www.saitek.com).[/caption] Scrollrad/ Drehrad Als Alternative zum Joystick bietet sich das Scrollrad bzw. das Drehrad immer dann an, wenn die Auswahl nur horizontal bzw. vertikal verläuft. Das Scrollrad definiert bereits mit seiner Laufrichtung, wohin sich eine Auswahlmarkierung bewegt. Das Drehrad hat den Vorteil, Laufrichtungen sowohl in der Vertikalen als auch in der Horizontalen vornehmen zu können. Es kann außerdem Positionswinkel markieren, deren Auswahlangebot sich leicht merken lässt. Mit einem Scrollrad kann man nur ein Rauf oder Runter steuern. Die Position von Auswahlfeldern eines Menüs und deren Bedeutungen sind innerhalb einer Liste schwerer zu merken und zu finden, als in einer kreisförmigen Anordnung, die sich gedanklich in Winkelstücke (Tortenstücke) bzw. Richtungen (Norden, Süden, Westen, Osten etc.) vorstellen lässt. Eine Auflistung besitzt nicht diese Assoziationen, die im Sinne einer Erinnerungsstrategie (Mnemotechnik) funktionieren könnten. Das Drehrad bietet sich als taktiles Interface zur Interaktionssteuerung an, da es komplexe Auswahlvorgänge ermöglicht, ohne kompliziert zu sein (siehe auch unter ›Pie Menu‹ im Kapitel ›Interactiondesign‹). [caption id="attachment_356" align="alignnone" width="380"] Logitech Pilot Wheel Mouse (www.logitech.com).[/caption] Das Scrollrad findet seine Anwendung bei der Computer-Maus und bei zahlreichen mobilen Geräten. In der Regel kann mit ihm eine horizontale, manchmal auch eine vertikale Richtung angesteuert werden. Je nach Gerät kann das Scrollrad zur Bestätigung der Auswahl eingedrückt werden, um nicht eine weitere Taste bedienen zu müssen. Beim Mobiltelefon P910 von Sony Ericsson kann das Scrollrad zudem nach links und nach rechts gekippt werden, um zusätzliche Auswahlstrategien zu ermöglichen. So kann man z. B. in das nächste erreichbare Verzeichnis innerhalb einer Hierarchie wechseln. [caption id="attachment_357" align="alignnone" width="454"] Sony Ericsson P910 (www.sonyericsson.com/P910).[/caption] Die Scrollwalzehat dieselbe Funktion wie das Scrollrad. Der wesentliche Unterschied bei mobilen Geräten ist wohl, dass sich die Scrollwalze, nicht wie das Scrollrad an der schmalen Seite, sondern in der Regel in der Mitte der Nutzfläche des mobilen Gerätes befindet. Dadurch ist die Scrollwalze sowohl von Links- als auch von Rechtshändern gleichermaßen gut zu bedienen. [caption id="attachment_358" align="alignnone" width="359"] Sony Clio PEG-TJ37 mit Scrollwalze.[/caption] Das Interface von ›NuLOOQ Professional Series‹ macht deutlich, dass ein Drehrad neben den horizontalen und vertikalen Bewegungsrichtungen erweiterte Auswahlvorgänge ermöglicht, die sich so zwar auch mit einem Scrollrad bedienen ließen, allerdings nicht mit derselben Selbstverständlichkeit. Mit einem Drehrad lassen sich Positionen auch leichter merken und das Interface demnach schneller bedienen (siehe auch ›Computer-Maus‹ in diesem Artikel). Das i-Drive von BMW bietet dem Fahrer eine Auswahlbandbreite von 700 bis 900 Funktionen. Dies zeigt sehr deutlich, welch ein Potential ein Drehrad bieten kann. Ob es so hilfreich ist, so viele Funktionen nur über ein einziges taktiles Interface steuern zu können, wurde auch in den Automobil-Fachkreisen viel diskutiert. Einerseits schien es sinnvoll, alle Funktionen nur noch zentral über ein einziges Interface steuern zu können. Andererseits wurde erkannt, dass ein langer Navigationsweg sehr hinderlich sein kann, und zwar gerade dann, wenn man sich eigentlich auf den Straßenverkehr konzentrieren sollte. Je vielseitiger das Angebot in einem zentralen System, umso komplexer wird allerdings die Struktur und infolgedessen der Weg zur jeweils gesuchten Funktion. Das Drehrad vom i-Drive kann neben der Rotation zusätzlich in acht Richtungen gekippt bzw. geschoben werden. In diesen acht Richtungen können im Hauptmenü die folgenden acht Themen ausgewählt werden: Kommunikation, Bord-Daten, Navigation, Hilfe, Entertainment, Einstellungen und den Klima- und Telematikdienst BMW ASSIST. Angesteuert werden sie alle durch das Schieben des Controllers in die jeweilige Richtung. Durch die Drehbewegung des Drehrads, iDrive-Controller genannt, bewegt man sich innerhalb der Untermenüs, und durch Drücken des gesamten Rades nach unten wird die Auswahl bestätigt. Um das schnelle Rückspringen in das Hauptmenü zu erleichtern, wurden ab dem Modelljahr 2004 je nach Modell ein bzw. zwei zusätzliche Tasten unterhalb des Drehrads eingebaut. Außerdem wurden die acht Menüebenen mittlerweile auf vier reduziert, um die Bedienbarkeit des gesamten Systems zu vereinfachen. [caption id="attachment_359" align="alignnone" width="425"] i-Drive von BMW (Foto: BMW).[/caption] Apples iPod ist zur Zeit wohl das bekannteste Gerät mit Drehrad. Es lässt sich hervorragend mit dem Daumen steuern, sowohl von Links- als auch von Rechtshändern. [caption id="attachment_360" align="alignnone" width="393"] iPod von Apple[/caption] Beim Mobiltelefon Serene von Samsung, das in Kooperation mit Bang & Olufsen entstand, ist im Gegensatz zu beinahe allen anderen handelsüblichen mobilen Geräten die Tastatur oberhalb des Displays angebracht. Dadurch liegt es erheblich sicherer in der Hand und die rund angeordnete Tastatur mit dem zentralen Drehrad lässt sich mit dem Daumen gut bedienen. [caption id="attachment_361" align="alignnone" width="454"] Die Abbildung zeigt das Mobiltelefon richtig herum. Das Display befindet sich in der Tat auf der unteren Klappe (Foto: www.mobile-review.com).[/caption] Tastatur Die Tastatur ist neben der Computer-Maus ein ganz wesentliches Interface am Computer zur Eingabe von Daten, aber auch zum Auslösen von Funktionen. Neben der Texteingabe erfolgt über die Tastatur das Steuern des Betriebssystems und diverser Funktionen der Softwarepakete und Spiele mittels der F-Keys, der Pfeiltasten und der Steuertasten (Shift, Ctrl, Alt, Strg). Seitdem sich Menschen Gedanken darüber machen, wie man Texte mit Hilfe einer Maschine notieren kann, stellt sich die Frage, wie die Tasten des Eingabeinterfaces angeordnet sein müssen, um möglichst effizient, schnell und fehlerfrei schreiben zu können und diese Eingabefähigkeit möglichst schnell erlernen zu können. Seitdem gab es unzählige Versuche, die optimale Schreibmaschine bzw. die optimale Tastatur für einen Computer zu entwickeln. Im Folgenden wird zunächst die erfolgreichste Tastaturanordnung erläutert, die sich zwar durchgesetzt hat, aber deswegen nicht die beste Wahl darstellt, gefolgt von einigen Tastaturvarianten, mit denen tatsächlich versucht wurde, die Texteingabe zu revolutionieren. Andere Beispiele zeigen lediglich interessante Ergänzungen zur bestehenden Tastatur. Bezogen wird sich in diesem Textteil nur auf die Hardware-Tastaturen und nur auf solche für stationäre Geräte. Die Software-Tastaturen und andere Varianten für mobile Geräte werden im nachfolgenden Teil unter ›Texteingabe bei mobilen Geräten‹ beschrieben. [caption id="attachment_362" align="alignnone" width="624"] QWERTY-Tastatur.[/caption] [caption id="attachment_363" align="alignnone" width="624"] Dvorak-Tastatur.[/caption] Die Anordnung der einzelnen Buchstaben auf einer Tastatur gibt es so, wie man sie in der Regel aktuell vorfindet, nicht erst seit Einführung des Computers. Seit nun fast 140 Jahren hat sich bei den meisten Schreibmaschinen ein bestimmtes Schema der Tastenanordnung durchgesetzt. Christopher Latham Sholes ist der Erfinder der so genannten QWERTY-Tastatur, die er 1868 zum Patent anmeldete. Der Bezeichnungsanteil QWERTY für die amerikanisch/ englische Variante dieser Tastatur bzw. QWERTZ für die deutsche Variante ergibt sich aus der Anordnung der Tasten. Die Tastenanordnung QWERTY befindet sich bei der amerikanischen bzw. englischen Tastatur in der oberen Reihe links, direkt unter den Zahlen. Bei der deutschen Tastatur steht dort QWERTZ und bei der französischen AZERTY. Daran zeigt sich, dass die Anordnung der Tasten je nach Sprache eine andere sein kann. Das QWERTY-Tastaturlayout folgte seit 1868 nicht nur einer einfachen alphabetischen Reihenfolge, sondern der Suche nach Effizienz. [caption id="attachment_364" align="alignnone" width="624"] QWERTY-Tastatur, Remblick, USA, 1928 (Foto: Richard Polt).[/caption] Christopher Latham Sholes bemühte sich um eine Tastaturanordnung nach ergonomischen und mechanischen Prinzipien. Eigentlich erfüllte er beides gleichzeitig, indem er die häufig verwendeten Buchstaben möglichst weit voneinander entfernt unterbrachte, um ein Überkreuzen der Hände und Finger beim Tippen zu vermeiden. Er bezog sich dabei als Amerikaner selbstverständlich auf die englische Schreibweise und ordnete die dort am häufigsten vorkommenden Buchstaben T, N, I, O, A und E auch in der Buchstabenstempelmechanik der Schreibmaschine gleichmäßig verteilt an. Zudem vermiet er, dass häufig verwendete Buchstabenkombinationen, wie TH, ND oder HE direkt nebeneinander platziert waren, um ein Verheddern der Buchstabenstempel zu vermeiden. Die restlichen Buchstaben verteilte er dann wohl eher willkürlich. Durch die von Sholes konzipierte Tastaturanordnung wurden die Hindernisse für ein eventuelles Schnellschreiben stark gemindert und nicht etwa bewusst herbeigeführt. Eine Schreibstrategie wie das Zehnfingerschreibsystem gab es noch nicht. Bis in die zwanziger Jahre des letzten Jahrhunderts konkurrierte seine Tastaturenbelegung mit anderen, bis sich dann die QWERTY- bzw. QWERTZ-Tastatur durchsetzte. [caption id="attachment_365" align="alignnone" width="616"] Deutsche Schreibmaschine mit QWERTZ-Tastatur (Foto: Richard Polt).[/caption] Die wohl bekannteste Alternative zur QWERTY-Tastatur wurde um 1936 von dem Amerikaner August Dvorak vorgestellt. August Dvorak war mit seiner Dvorak-Tastaturin erster Linie an einer ergonomischen Tastenanordnung gelegen, die ein schnelles und ermüdungsarmes Schreiben ermöglichen sollte. Außerdem sollte der Umgang mit ihr möglichst einfach erlernbar sein. Dvorak ordnete die Vokale links und die am häufigsten verwendeten Konsonanten rechts an und achtete darauf, dass dabei die in der englischen Sprache am häufigsten verwendeten Buchstaben eine Reihe bildeten. Er wandte noch diverse andere Strategien an, die es ermöglichen sollten, die Effizienz des Tippens zu steigern. Obwohl die Vorzüge dieser Tastatur eindeutig zu sein schienen, konnte sie sich nicht durchsetzen. Einerseits wollten die Anwender nicht umlernen und die Industrie, die die QWERTY-Tastatur als Standard ansah, ihre Schreibkräfte nicht umschulen. Dies wäre nicht das erste Mal, dass sich ein Standard nicht wegen seiner Qualität etabliert und nicht weiterentwickelt, sondern wegen der Gewohnheit und Bequemlichkeit der Anwender. Untersuchungen durch die US-Wirtschaftswissenschaftler Stan Liebowitz und Stephen Margolis, die feststellen wollten, warum sich die Dvorak-Tastatur nicht durchsetzen konnte, obwohl ihre Vorteile offensichtlich zu sein schienen, haben allerdings ergeben, dass die Schreibgeschwindigkeitstests, die mit der Dvorak-Tastatur durchgeführt wurden und deren Ergebnisse stets enorme Leistungssteigerungen gegenüber der QWERTY-Tastatur erkennen ließen, in vielen Fällen von Dvorak selber betreut worden waren. Außerdem wurden die meisten von Liebowitz und Margolis überprüften Tests aus verschiedensten Gründen wissenschaftlichen Kriterien nicht gerecht. Der diesbezügliche Bericht von Stan Liebowitz und Stephen Margolis ist sehr aufschlussreich. (Liebo witz, Stan; Margolis, Stephen: The Fable of the Keys. Journal of Law & Economics vol. XXXIII, April 1990. Ebd.: http://wwwpub.utdallas.edu/~liebowit/keys1.html) Dieses ernüchternde Resultat hat es wohl allen anderen nachfolgenden Bestrebungen, das Tastaturlayout zu reformieren, entscheidend erschwert, Beachtung zu finden. Ob die Dvorak-Tastatur tatsächlich die ergonomischere Tastatur ist, wie gerne behauptet wurde, wird auf Grund der geringen Anzahl an Nutzern wohl nie abschließend ermittelt werden können. [caption id="attachment_366" align="alignnone" width="612"] Rooy, französische Schreibmaschine mit AZERTY-Tastatur, 1958 (Foto: Richard Polt).[/caption] Es gab noch zahlreiche weitere Versuche, die Tastatur zu optimieren. Douglas C. Engelbart z. B. erfand nach der Computer-Maus eine einhändig bedienbare Tastatur mit fünf Tasten, die er 1968 auf der Fall Joint Computer Conference (FJCC) vorstellte. Die Liste der seitdem erfundenen Tastaturen und tastaturähnlichen Eingabegeräten ist so lang, dass hier nur einige wenige spezielle Beispiele erwähnt werden sollen, die entweder echte Vorteile erahnen lassen oder zumindest interessant aussehen. Die Eingabegeräte, die sehr konkret auf Behinderungen abzielen, werden unter ›Barrierefreiheit – eine erweiterte Form der Usability‹ im Kapitel ›Usability‹ beschrieben. Bei der Tastatur ›Optimus‹ von Artemy Lebedev ist jede Taste ein kleines Display, realisiert mit der OLED-Technologie (Organische Licht Emittierende Dioden). Siehe zu OLED auch unter ›Farbe und ihre Darstellungsmedien‹ im Kapitel ›Gestaltungsgrundlagen‹. Mit dieser Tastatur wird die Diskussion über die QWERTY- oder Dvorak-Tastatur überflüssig, da jede Tastenbeschriftung nach Belieben belegt werden kann. Dies gilt auch für unterschiedliche Schriftzeichen oder die Belegung für spezielle Funktionen und Computerspiele. Die Suche nach Sonderzeichen auf der Tastatur hat ein Ende. Schließlich braucht man nur die Shift- oder Alt-Taste drücken, um auf der Tastatur die jeweils sich ändernden Tastenbeschriftungen erscheinen zu lassen. Angeboten werden soll diese Tastatur Ende 2006. [caption id="attachment_367" align="alignnone" width="425"] [/caption] [caption id="attachment_368" align="alignnone" width="494"] ›Optimus‹ von Artemy Lebedev (www.artlebedev.com).[/caption] Das Maxim™ Split Adjustable Keyboard von Kinesis macht die Bestrebungen nach einer ergonomisch optimierten Tastatur deutlich. Diese Tastatur bietet Auflageflächen für die Handballen und ist individuell der Neigung der Handpositionen anpassbar. Wie denn nun aus ergonomischer Sicht die optimale Tastatur aussieht, ist bis heute aber nicht bis ins letzte Detail wissenschaftlich erwiesen worden. [caption id="attachment_370" align="alignnone" width="624"] Das Maxim™ Split Adjustable Keyboard von Kinesis (www.kinesis-ergo.com).[/caption] Die us-amerikanische Firma Ergodex ermöglicht es dem Anwender, mit dem Ergodex DX1 seine eigene individualisierbare Tastaturzusammenzustellen. Jede einzelne Taste kann beliebig positioniert und belegt werden. Dies kann für Personen relevant sein, die in ihren motorischen Fähigkeiten eingeschränkt sind oder für Arbeits- oder Spielsituationen, bei denen nur bestimmte Tasten und Funktionen erforderlich sind. Über USB wird diese individualisierbare Tastatur am Computer angeschlossen. [caption id="attachment_371" align="alignnone" width="624"] Das Comfort Standard Keyboard ist ein sehr auffallendes Beispiel für ergonomische Tastaturen. Auch wenn es alle erdenklichen Justiermöglichkeiten bietet, so stellt sich doch die Frage, woher der Anwender wissen soll, welche Positionierung für ihn die geeignete ist (www.sforh.com).[/caption] Die Idee einen so genannten One-Hand-Keyboardzu entwickeln, eine Tastatur, die mit einer Hand bedient werden kann, hatte Douglas C. Engelbart bereits 1968. Seitdem gab es einige weitere Entwicklungen in diese Richtung. Das Kernziel dabei ist, die Komplexität der Tastatur im Benutzungs- und im Lernaufwand zu minimieren. Mit der Einhandtastatur FrogPad wurde es laut einer Studie möglich, dass ungeübte Anwender bereits binnen 10 Stunden eine Schreibgeschwindigkeit von 40 Worten in der Minute erreichen konnten. [caption id="attachment_372" align="alignnone" width="624"] [/caption] [caption id="attachment_373" align="alignnone" width="624"] Ergodex DX1 (www.ergodex.com).[/caption] Das FrogPadwird von der gleichnamigen Firma vertrieben und kann über einen USB-Anschluss bzw. über Bluetooth mit jedem Computer oder mit mobilen Geräten (Mobiltelefon, PDA, Pocketcomputer etc.) kommunizieren. FrogPad verfügt über 15 Haupttasten, mit denen die 15 meist benötigten Buchstaben direkt erreichbar sind. Die weiteren Buchstaben sind mittels Tastenkombinationen in Verbindung mit den anderen Tasten erreichbar. Alle Tasten sollen leicht mit einer Hand bedienbar sein. Für Rechts- und für Linkshänder gibt es jeweils unterschiedliche FrogPads. [caption id="attachment_374" align="alignnone" width="597"] [/caption] [caption id="attachment_375" align="alignnone" width="624"] FrogPad (www.frogpad.com).[/caption] Die Einhandtastatur Half Keyboard von Matias Corporation erscheint als die geeignete Tastatur für mobile Geräte und lässt sich bei Bedarf mit Riemen am Körper befestigen. Durch Betätigung der Leertaste kann man zwischen zwei Tastaturebenen wechseln, auf denen sich alle erforderlichen Tasten befinden. Wegen ihrer geringen Größe eignen sich kleine Tastaturen entsprechend gut für mobile Geräte. In diesem Zusammenhang ist auch zu bedenken, dass mit solchen, mit fünf Fingern bedienbaren Tastaturen schneller geschrieben werden kann, als es mit dem Daumen auf einer Mobiltelefontastatur je möglich wäre. Und beim Schreiben mit Hilfe eines Stiftes auf einer Softwaretastatur oder beim Schreiben mit einer Handschrifterkennungssoftware werden stets zwei Hände benötigt. Eine, um das Gerät und eine, um den Stift zu halten. Einhandtastaturen können zudem bei diversen motorisch bedingten Behinderungen eine Erleichterung darstellen. [caption id="attachment_376" align="alignnone" width="564"] [/caption] [caption id="attachment_377" align="alignnone" width="624"] Half Keyboard von Matias Corporation (Fotos: Courtesy of Matias Corporation. www.matias.ca).[/caption] TagType ist eine Tastatur, die es Japanern erleichtern soll, ihre Schriftzeichen in einen Computer eingeben zu können. In der Regel greifen auch Asiaten auf umfunktionierte QWERTY-Tastaturen zurück, obwohl deren Schriftzeichen viel komplexer sind als die der westlichen Kulturkreise. TagType stellt die am meisten benötigten Zeichen direkt als Tasten zur Verfügung. Alle anderen Zeichen müssen in Kombination mit weiteren Tasten gebildet werden. Das phonetische Alphabet des japanischen Kana Schreibsystems besteht aus 49 Silben, die man gedanklich in einer Matrix von zehn mal fünf Konsonanten und Vokalen abbilden kann. Die fünf Haupttasten, jeweils links und rechts angeordnet, entsprechen den zehn Konsonanten bzw. fünf Vokalen, so dass mit den Tasten alle Silben innerhalb der Matrix angesteuert werden können. [caption id="attachment_379" align="alignnone" width="421"] [/caption] [caption id="attachment_380" align="alignnone" width="624"] [/caption] [caption id="attachment_382" align="alignnone" width="624"] Die Fotos stammen von Yukio Shimizu und zeigen das TagType Garage Kit von 2003 (www.lleedd.com).[/caption] Mit TagType soll das Eingeben von Text vereinfacht werden und auch gerade dort zum Einsatz kommen, wo die Verwendung einer klassischen QWERTY-Tastatur ungünstig wäre. Außerdem wird von den Entwicklern angenommen, dass es für den Anwender besser ist, dieses Eingabegerät in beiden Händen halten zu können (zu müssen) und nicht zuletzt deswegen in jeder Sitz- und Liegeposition bedienen zu können. (Dieses Projekt wurde von Takram Design Engeneering, Shunji Yamanaka und Leading Edge Design vorangetrieben und an Sony und Benesse Corporation lizenziert.) Für mobile Geräte gibt es zahlreiche Varianten an faltbaren, klapp- und aufrollbaren Tastaturen. Sie verdeutlichen alle den oftmals hilflosen Versuch, den Komfort einer QWERTY-Tastatur mit der Mobilität und den geringen Abmessungen mobiler Geräte in Einklang zu bringen. Manche Probleme lassen sich jedoch nicht aus der Perspektive des bisher Bekannten lösen, wobei die projizierte virtuelle Tastatur von VKB Inc. noch den besten Kompromiss darstellt zwischen dem Bekannten und den Anforderungen, die sich durch die Mobilität ergeben. [caption id="attachment_383" align="alignnone" width="580"] Freedom Keyboard[/caption] [caption id="attachment_384" align="alignnone" width="569"] GrandTec Virtually Indestructible Keyboard für Palm - PLM-3000[/caption] [caption id="attachment_385" align="alignnone" width="624"] W.Keyboard[/caption] [caption id="attachment_386" align="alignnone" width="624"] Virtual Keyboard SX-1, www.vkb-tech.com[/caption] [caption id="attachment_387" align="alignnone" width="561"] Flexis FX100[/caption] [caption id="attachment_388" align="alignnone" width="624"] E-Bamboo Book, Studie von Wu-Ging Li und Wu-Jie Sun[/caption] [caption id="attachment_389" align="alignnone" width="584"] Studie von Shi-Ling Tsai[/caption] [caption id="attachment_390" align="alignnone" width="585"] Elek Tex® Wireless Fabric Keyboard, Courtesy of Eleksen[/caption] So wie Albert Einstein es einmal formulierte, dass sich »… kein Problem aus demselben Bewusstsein heraus lösen lässt, aus dem es erschaffen wurde …« wurde es Zeit, sich für mobile Geräte passende Alternativen zur klassischen QWERTY-Tastatur zu überlegen, die sich nicht nur in den Abmessungen vom etablierten Standard unterscheiden, sondern auch in den zur Verfügung gestellten Werkzeugen und im Vorgang der Texteingabe an sich. Einige mögliche Alternativen werden im nun folgenden Text beschrieben. Texteingabe bei mobilen Geräten Worte oder gar Texte in mobile Geräte einzugeben ist sehr mühsam. Dies ergibt sich aus den extrem geringen Abmessungen der Hardware- und Software-Tastaturen dieser kleinen Geräte, die ihrer Mobilität und ihres Hosentaschencharmes beraubt wären, würde man ihnen eine ergonomisch angemessene Hardware-Tastatur einbauen. Dass das Schreiben von Nachrichten mit einer reduzierten Tastatur wie der des mobilen Telefons vom Prinzip her möglich ist, wird vielen bewusst gewesen sein. Dass die Tastatur der Mobiltelefone aber tatsächlich intensiv zum Schreiben von Nachrichten genutzt werden würde, überraschte viele Experten der Telefonnetztbetreiber. Der Kurznachrichtendienst im Mobilfunk, besser bekannt als Short Message Service (SMS), wurde 1992 das erste Mal genutzt, und seit 2002 werden in Europa über 15 Milliarden SMS pro Monat versendet. Dies zeigt, dass auch ein scheinbar unergonomisches Interface vom Anwender angenommen wird, sobald sich ein für ihn relevanter Nutzwert ergibt. Um den Komfort bei der Texteingabe zu erhöhen, entwickelte die Firma Tegic die T9-Texteingabe, die bereits nach der Eingabe des ersten Buchstabens eine Buchstabenkombination oder das wahrscheinlichste Wort vorschlägt. T9 ist dabei automatisch lernfähig. Der Wortschatz des T9 kann aber auch vom Anwender gezielt erweitert werden. Diese Möglichkeit ändert allerdings nichts daran, dass bei aller Miniaturisierung eine vollwertige Tastatur immer noch am meisten Komfort bietet. Sie ist nur einfach zu groß für den mobilen Einsatz. Faltbare Tastaturen stellen aber oft nur eine Notlösung dar. Umso notwendiger ist es, sich geeigneter Lösungen zu bedienen, die für die Texteingabe ohne Tastatur auskommen und z. B. mit dem Stylus und einem drucksensitiven Display am mobilen Gerät möglich sind. Bis zur Entwicklung einer automatischen Schreibschrifterkennung bleibt als Alternative nur das Schreiben in einzelnen Buchstaben in einer vorgegebenen Schreibweise wie z. B. mit der Software Graffiti von Palm, deren Nutzung an die viel geschmähte Schönschrift erinnert. [caption id="attachment_391" align="alignnone" width="424"] Das Handschriftenalphabet Unistroke ist optimiert auf die einfache Erkennung durch einen Computer mit geringer Prozessorleistung. Jeder Buchstabe kann in einem Strich erstellt werden (www.ubiq.com/parctab/parctab.html).[/caption] [caption id="attachment_392" align="alignnone" width="624"] Der ParcTab gehört zu den ersten Personal Digital Assistants (PDA).[/caption] Zur Eingabe kann der komplette Touchscreen des ParcTab als Eingabefeld verwendet werden. Bei späteren PDAs, wie z. B. der Firma Palm, bzw. Smartphones, wie z. B. von Sony Ericsson, wird die Nutzung von Displaybereichen differenziert, indem z. B. im oberen Bereich die Großbuchstaben oder die Zahlen geschrieben werden und im unteren Bereich nur die Kleinbuchstaben. Beim Sony Ericsson P910i ist das Display sogar in drei Bereiche geteilt. Der mittlere Bereich des Displays ist für die Großbuchstaben, der obere für die Zahlen und der untere für die Kleinbuchstaben bestimmt. Da nicht mehr zuvor durch ein Zeichen definiert werden muss, ob man nun Großbuchstaben oder Kleinbuchstaben schreiben möchte, kann die Schreibweise beschleunigt werden. Außerdem werden durch die Trennung von Zahlenund Buchstabeneingabebereichen Verwechslungen durch die Schrifterkennungssoftware verringert. Die Texteingabe erfolgt bei dem PDA von Palm entweder über eine Softwaretastaturoder mit Hilfe der Software Graffiti. Diese ermöglicht wie Unistroke eine Handschrifterkennung, allerdings nur in ähnlich eingeschränkter Weise wie bei Unistroke. Die Art, wie man jeden einzelnen Buchstaben, jedes Zeichen und jede Zahl zu zeichnen hat, ist genau vorgegeben, damit Graffiti den Buchstaben auch erkennen kann. Diese Form des Schreibens muss geübt werden und macht gerade in der Anfangsphase zahlreiche Korrekturen erforderlich. [caption id="attachment_393" align="alignnone" width="624"] [/caption] [caption id="attachment_394" align="alignnone" width="624"] Graffiti Software[/caption] Möglicherweise durch ähnliche Umstände motiviert, entwickelte Shumin Zhai beim IBM-Almaden-Forschungszentrum in Kalifornien mit seinem Doktoranden Per-Ola Kristensson eine Eingabetechnik, die das Schreiben mittels einer Software-Tastatur schnell und einfach machen soll. Mit dem ›Shorthand Aided Rapid Keyboarding‹, kurz SHARK, werden Worte nicht mehr nur durch das einzelne Antippen von Softwaretasten geschrieben, sondern durch das Gleiten des Stiftes auf dem Display werden die Buchstaben in einer Bewegung, wie in einer Kette, miteinander zu Worten verbunden, ohne den Stift abzusetzen. (Das Projekt wurde im Jahr 2000 unter dem Titel ›The Metropolis Keyboard – An Exploration of Quantitative Techniques for Virtual Keyboard Design‹ am ›ACM Symposium on User Interface Software and Technology‹ vorgestellt.) Bei SHARK wird die Tastatur wie ein Menü verwendet. Diese Vorgehensweise der Buchstabenauswahl und Kombination zeigt sich auch am Beispiel von CIRRIN (the CIRculaR INput device), einem Texteingabesystem von Jennifer Mankoff und Gregory D. Abowed, veröffentlicht 1998, das dem Prinzip der Nutzung eines Menüs so sehr entspricht, dass es besser war, CIRRIN als Pie Menu nicht hier, sondern im Kapitel ›Interactiondesign‹ näher vorzustellen. Die Entwickler von SHARK behaupten, dass mit ihrem System das Schreiben effizienter wäre als per Handschrift und leichter zu lernen als traditionelle Stenoschrift. Es ist natürlich nicht möglich, viele Worte aus den jeweils benachbarten Buchstaben zu bilden. Dies ist auch nicht erforderlich, da SHARK das jeweils wahrscheinlichste Wort errechnet oder mehrere Treffer zur Auswahl anbietet. So ergibt z. B. die überstrichene Buchstabenkombination ›t-h-e-i-s‹ das Wort ›this‹ oder ›s-h-t-o-r-h-l-a-n-d-‹ ergibt ›shorthand‹. [caption id="attachment_395" align="alignnone" width="440"] Schreibstrecke, um das Wort ›finished‹ zu schreiben. CIRRIN (the CIRculaR INput device) ist ein Texteingabesystem, dass nach dem Prinzip eines Pie Menu funktioniert.[/caption] Dies setzt natürlich voraus, dass die einzelnen Tasten nicht nach dem Prinzip der QWERTZ- bzw. QWERTY-Tastatur angeordnet, sondern je nach Sprache zumindest für die häufigen bzw. kurzen Worte die entsprechenden Tasten benachbart sind und so zumindest diese Worte in einer leicht erkennbaren Schreibweise gebildet werden können. Darin steckt dann auch das entscheidende Hindernis für SHARK. Wer hat schon Lust, verschiedene Tastaturen verwenden zu müssen, nur um in unterschiedlichen Sprachen gleich gut schreiben zu können. Die Entwickler von SHARK arbeiten und testen zunächst mit der englischen Sprache, die im Vergleich zu anderen Sprachen den Vorteil hat, aus sehr vielen kurzen Worten zu bestehen und dass Worte nicht wie z. B. in der deutschen Sprache aus mehreren einzelnen Worten zusammengesetzt werden. Es dürfte auch sehr schwer sein, asiatische Schriftzeichen mit der SHARK-Schreibweise zu ›zeichnen‹. Aber SHARK sei, so Shumin Zhai, in erster Linie nicht für zeichenorientierte, sondern für alphabetische Sprachen konzipiert. Immerhin ergaben Tests im Almaden-Labor, dass die Probanden in englischer Sprache 40 bis 80 Wörter pro Minute schaffen. Mit der üblichen Schreibweise per Antippen einzelner Buchstabentasten mit einem Stift, per Grafitti-Software von Palm oder über das Tippen mit zwei Daumen auf einer minimalisierten Hardwaretastatur für mobile Geräte (PDA, Mobiltelefon, Pocketcomputer etc.) schafft man in der Regel nicht mehr als 15 Worte pro Minute. Um die Motivation zu wecken, den Umgang mit diesem Eingabeverfahren lernen zu wollen, haben sich die Entwickler von SHARK ein Spiel einfallen lassen, bei dem der Anwender Ballons zum Platzen bringen kann, sobald er die auf ihnen befindlichen Worte mit dem SHARK-Prinzip geschrieben hat. Da bislang keine zufriedenstellendere Lösung für die Texteingabe zur Verfügung steht, die wirklich gut funktioniert, erscheinen die Einschränkungen, die sich mit SHARK ergeben, akzeptabel. Eine wesentliche Eigenschaft der Softwaretastatur SHARK ist die vom Standard abweichende Anordnung der einzelnen Tasten. Diese Tastaturanordnung wird ATOMIK genannt (Alphabetically Tuned and Optimized Mobile Interface Keyboard). Bei IBM fiel bisher noch keine Entscheidung darüber, ob und in welcher Form SHARK vermarktet wird. Die Software kann kostenfrei heruntergeladen werden unter: www.shapewriter.com. [caption id="attachment_396" align="alignnone" width="581"] Diese Tastaturanordnung wird ATOMIK genannt (Alphabetically Tuned and Optimized Mobile Interface Keyboard).[/caption] [caption id="attachment_397" align="alignnone" width="624"] Wenn sich aus einer Buchstabenkombination, die sich aus dem Überstreichen mit einem Stift oder Finger über die Tastatur ergab, mehrere Worte bilden lassen, so werden diese in einer Liste angezeigt, aus der das gewünschte Wort ausgewählt werden kann.[/caption] [caption id="attachment_398" align="alignnone" width="397"] Bei dieser Tastatur sind die Tasten alphabetisch sortiert. Dadurch sind die einzelnen Buchstaben zwar leicht zu finden, die Strecken, die man mit Blicken und Zeigefinger bzw. Stift zurücklegen muss, um Worte zu bilden, sind allerdings relativ lang. Außerdem dauert die Suche nach den jeweiligen Buchstaben relativ lang, wenn man das Schreiben mit einer QWERTY- bzw. QWERTZ-Tastatur gewohnt ist.[/caption] Neben den sehr zahlreichen softwarebasierten Lösungen, die dem Versuch, mobilitätsadäquat zu sein, sehr nahe kommen, gibt es auch Hardwarelösungen, bei denen sich direkt am mobilen Gerät eine QWERTY-Tastatur befindet. Jeder, der es mal versucht hat, wird den Eindruck gewonnen haben, dass selbst das Schreiben einer SMS-Nachricht per Mobiltelefon- Tastatur einfacher ist, als mit miniaturisierten Hardware-QWERTYTastaturen hantieren zu müssen. [caption id="attachment_399" align="alignnone" width="616"] Nokia E50 (www.nokia.com).[/caption] [caption id="attachment_400" align="alignnone" width="186"] SonyEricsson P990 (www.sonyericsson.com).[/caption] [caption id="attachment_401" align="alignnone" width="434"] Nokia 9500 Communicator (www.nokia.com).[/caption] Im Rahmen ihrer Diplomarbeit entwickelte Susanne Stage eine kreisförmige Touchpad-Tastaturfür mobile Geräte, die alle Vorteile der Hardware-Tastatur, des Pie-Menu und des Drehrads in sich zu vereinen scheinen (siehe unter ›Scrollrad, Drehrad‹ in diesem Artikel und unter ›Pie Menu‹ im Kapitel ›Interactiondesign‹). (Diplomar beit von Susanne Stage, Institut für Industrial Design an der Hochschule Magdeburg-Stendal, Betreuung: Prof.in Carola Zwick und Prof.in Dr. Christine.) Das gesamte Gerät, das einhändig mit dem Daumen bedient werden kann, hat eine kreisrunde Fläche von 40 mm Durchmesser die in drei Ringe und zehn Winkel eingeteilt ist. Die drei Ringe stehen für die Buchstabenhäufigkeit. Die am häufigsten benutzten Buchstaben stehen im inneren Ring, die selten verwendeten im äußeren Ring, wodurch die Wege, die der Daumen zur Auswahl zurücklegen muss, möglichst kurz bleiben. Die Verwendung von Ringen und die Aufteilung in Winkel nutzen den Vorteil, dass man sich die Positionen der Buchstaben und die sich dahinter eventuell befindenden Funktionen besser merken kann, als wenn die Tasten horizontal bzw. vertikal aufgeteilt wären. Außerdem lassen sich kreisförmig angeordnete Tasten mit dem Daumen leichter erreichen, mit dem man grundsätzlich eher kreisförmige als rechtwinklige Bewegungen vollzieht. Die Tastatur ist oberhalb des Displays angebracht, so dass der Anwender das Gerät optimal in seine Hand legen, die kreisförmige Touchpad-Tastatur mit seinen Daumen bedienen kann und dennoch der Blick auf das Display frei ist. [caption id="attachment_402" align="alignnone" width="624"] Die einhändige Bedienung wird dadurch begünstigt, dass sich die Tastatur oberhalb des Displays befindet.[/caption] [caption id="attachment_403" align="alignnone" width="624"] Auch die Zwischenräume dienen als Tasten.[/caption] Eigentlich erstaunlich, dass bis auf das ›Serene‹ von Samsung, das in Kooperation mit Bang&Olufsen entstand, bei nahezu allen anderen handelsüblichen mobilen Geräten die Tastatur unterhalb des Displays angebracht ist, so dass man stets zwei Hände benötigt. Selbst beim Eintippen einer SMS-Nachricht besteht einhändig stets die Gefahr, dass einem das Gerät aus der Hand gleitet, da man nur das untere Stück des Gerätes in der Hand hält. Die von Susanne Stage entwickelte kreisförmige Touchpad-Tastatur für mobile Geräte ist damit eine angenehme Ausnahme. Die Zwischenräume der Zeichentasten sind mit weiteren Funktionen belegt. Doppelbelegungen der Zwischenräume werden durch ein einmaliges kurzes oder ein langes Berühren unterschieden. Mit dem Joystick in der Mitte kann die Schreibmarke in jede gewünschte Position bewegt werden. [caption id="attachment_404" align="alignnone" width="443"] Erstbelegung der Noppen mit Buchstaben.[/caption] [caption id="attachment_405" align="alignnone" width="441"] Zweitbelegung der Noppen mit Zahlen und Sonderzeichen.[/caption] Bei den 40 Tasten sind beim Entwurf von Susanne Stage die 30 Noppen und 10 Tasten in den Zwischenräumen doppelt belegt. Im inneren Ring befinden sich die am häufigsten benötigten Zeichen, somit auch die Zahlen (nach dem Umschalten der Tastenbelegung). Um den Aktionsradius des Daumens möglichst klein zu halten, sind die weniger häufig benötigten Zeichen außen angebracht. Außerdem sind oft verwendete Satzzeichen und Zusatzfunktionen im oberen Teil untergebracht, da dieser mit dem Daumen besser erreicht werden kann, als der untere Teil. Dieser Entwurf macht sehr deutlich, dass sich die Eigenschaften des Screendesigns sowohl auf Software-, als auch auf Hardware-Produkte beziehen lassen (siehe Artikel ›Screendesign‹). Die Farben können zielgruppenspezifisch gewählt werden. Für das Screendesign der Hardwaretastatur wird die Schrift FF Transit verwendet. Da sie sehr schmal ausfällt, genügt der Platz auf den Noppen auch für ein ›m‹ oder ein ›w‹. Die Erstbelegung mit Buchstaben wird mit der Transit in fett, 8 Punkt und weiß dargestellt. Zahlen und Sonderzeichen werden einen Punkt kleiner in einem Anthrazit und in der normalen Transit in bestimmten Winkeln neben bzw. unter den entsprechenden Noppen platziert, so dass eine visuelle Unterscheidung der Erst- und Zweitbelegung wahrgenommen werden kann. [caption id="attachment_406" align="alignnone" width="624"] [/caption] [caption id="attachment_407" align="alignnone" width="624"] Mit dem Screendesign der Hardwaretastatur können sowohl die Funktionalitäten als auch die Zielgruppendefinitionen bestimmt werden.[/caption] Gebote und Kriterien für Interfacedesign Je nach Absicht müssen Interfaces bestimmten Kriterien entsprechen. Dabei lässt sich nicht exakt bestimmen, welche Kriterien ausschließlich für welche Absicht bestimmt sind. Dafür sind die Kombinationsmöglichkeiten von Erzählformen, Wissensvermittlung, Unterhaltung und weiteren Absichten zu vielseitig. Auch hier gilt es, Ihre Kreativität anzuregen und nicht die Illusion zu vermitteln, es gäbe nur einen Weg zum Ziel bzw. ein einziges Schema zur Erstellung interaktiver Produkte. Im Kapitel ›Usability‹ gibt es zusätzliche Hinweise, wie die funktionalen Aspekte eines Interfaces zu berücksichtigen und diese in eine Gestaltungsabsicht zu integrieren sind. [caption id="attachment_409" align="alignnone" width="398"] Gebote und Kriterien für Interfacedesign[/caption] Durch das iPhone und Tablet-PCs, wie dem iPad, wird zunächst ein taktiler Kontakt zum Steuerungsgerät auf die Berührung einer glatten Oberfläche reduziert. Aber selbst dort gibt es Entwicklungen, die z.B. durch Vibration oder auch durch mechanische Veränderungen der Nutzeroberfläche ein taktiles Erleben ermöglichen wollen oder zumindest zu simulieren versuchen. Weiteres dazu finden Sie im Artikel ›Touchscreen - Taktile und Tangible Interfaces‹](https://www.torstenstapelkamp.de/wp-content/uploads/2017/07/01x-y-positionsanzeiger_01.png)
![Auch wenn die Bezeichnung ›Interface‹ in der Regel in Verbindung mit Softwareprodukten fällt, soll einmal mehr auch auf jene Interfaces hingewiesen werden, denen wir in der realen Welt begegnen. Nicht zuletzt bedienen wir uns der taktilen Interfaces in Form von Eingabegeräten wie der Tastatur bzw. Computermaus, um die Interfaces von Software überhaupt ›berühren‹ zu können. Aus funktionaler Sicht sind die Regeln, die es bei der Planung und Erstellung von Interfaces zu beachten gilt, für Hardware- und Softwareprodukten nahezu identisch. Sobald allerdings Aspekte der realen Welt zu beachten sind, die in einer virtuellen Umgebung keine entscheidende Rolle spielen, ergeben sich die wesentlichsten Unterschiede. In diesem Zusammenhang sei erneut darauf hingewiesen, dass ein Interface nicht nur Funktionen, sondern auch Emotionen repräsentieren kann und einen nicht unwesentlichen Anteil daran hat, welches Image ein Produkt hat (siehe Artikel ›Das Interface als Bedeutungsträger – Image, Branding‹). So kann es nicht schaden, wenn ein Mobiltelefon nicht nur funktional leicht und gerne bedient wird, sondern zugleich ein Handschmeichler ist, um so die sympathischen Eigenschaften greifbar zu machen. Taktile Interfaces gibt es zu abertausenden. Oft werden sie nur unbewusst wahrgenommen, manchmal sind sie funktional zwar nicht zwingend erforderlich, helfen aber dennoch beim Umgang mit einem Produkt. Denken Sie an die Rillen des Füllfederhalters, die in der Werbung als dringend erforderliche Bremsrillen gepriesen werden, damit der Zeigefinger nicht auf die Schreibfeder rutscht, oder an die Schalter an der Tür, die bei manchen Straßenbahnen wie Schalter aussehen, aber weder Klick-Geräusche machen, noch sich mechanisch bewegen, wenn man sie bedient. Was wie taktile Interfaces aussieht, sollte auch die Erwartungen solcher erfüllen können. Rückmeldungen, ob etwas gut funktioniert oder ob etwas überhaupt funktioniert, sind ganz wesentliche, erwartete Aspekte. Dass die Schalter zum Öffnen der Türen beim ICE der Deutschen Bahn nur leuchten, nachdem man sie betätigt hat, gilt in der realen Welt als nicht ausreichend. [caption id="attachment_340" align="alignnone" width="563"] [/caption] [caption id="attachment_341" align="alignnone" width="563"] Douglas C. Engelbart und William English entwickelten 1963–64 am Stanford Research Institute (SRI) den ›X-Y-Positions-Anzeiger für ein Bildschirmsystem‹ im Zusammenhang mit Untersuchungen, wie man das Zeigen und Auswählen einzelner Elemente auf einem Bildschirm ermöglichen kann.[/caption] Selbst ein bequemes Sofa kann als taktiles Interface gelten, wenn es so bequem ist, dass man gar nicht mehr hinaus möchte aus diesem guten Gefühl des Geborgenen. Wenn sich Verpackungen nicht öffnen oder nur ungünstig aufreißen lassen, erlebt man das taktile solcher Verschluss-Interfaces umso intensiver. Wenn das taktile Interface allerdings die Erwartungen, die es weckt, befriedigt und z. B. ein Bügelverschluss wie der einer bekannten Biermarke beim Benutzen (Öffnen) ein angenehmes Plopp-Geräusch macht, also geradezu rituell und somit in die Erzählform eingebunden das Benutzen dieses taktilen Interfaces zum spielerischen Ereignis werden lässt, ist der Kunde zufrieden und das Image von Produkt und Hersteller positiv geprägt. Haben Sie mal darüber nachgedacht, ob es nützlich sein könnte, wenn man durch Schütteln eines mobilen Gerätes unliebsame Textinhalte bewusst löschen könnte oder man den Anrufer bereits an der Art der Vibration des eigenen Mobiltelefons bzw. am Klingelton erkennt? In den Labors des Massachusetts Institute of Technology (MIT) wird an so genannten ›Tangible Bits‹ geforscht. Sensoren messen am Mobiltelefon des Absenders z. B. den Druck von der Hand und modulieren daraus digitale Informationen. Bei Computerspielen werden solche Effekte ›Force Feedback‹ genannt und sind bereits Standard. Mit derselben Technologie, haptische Signale zu versenden, könnte man interessante Kommunikationsspiele veranstalten, oder Blinde bzw. Schwerhörige könnten barrierefrei Botschaften senden. Was ein Rückschritt ins Zeitalter des Morsealphabets zu sein scheint, kann bei genauerer Betrachtung als neue Strategie für taktile Interfaces verstanden werden. [caption id="attachment_342" align="alignnone" width="563"] Mit dem Graficon, einem experimentellen Eingabegerät aus dem Jahr 1963–64, wird die Suche nach geeigneten Methoden deutlich, mit denen man auf die am Bildschirm abgebildeten Inhalte eingreifen kann.[/caption] Wenn Sie taktile Interfaces entwickeln möchten, deren Nutzung ein Erlebnis darstellen oder zumindest eine Zufriedenheit auslösen sollen, dann sollten Sie Ihre Umwelt bis ins kleinste Detail bewusst wahrnehmen und auch die kleinen Erlebnisse, die Sie dabei machen, erfassen. Dann sind Sie gut vorbereitet, um die folgenden Interfaces neu zu überdenken: Computer-Maus, Joystick, Scrollrad bzw. Drehrad, Tastatur und die Texteingabe bei mobilen Geräten. Computer-Maus Erst mit der Computer-Maus wurde eine direkte Interaktion zwischen Mensch und Computer möglich, die auch als solche empfunden wird, unabhängig davon, ob der Cursor nun durch ein Pfeiloder ein Handsymbol dargestellt und so die virtuelle Hand des Anwenders bzw. die Verlängerung seines Armes repräsentiert wird. Die Computer-Maus wurde 1963/1964 von Douglas C. Engelbart und William English am Stanford Research Institute (SRI) entwickelt und wurde damals noch X-Y-Positions-Anzeigerfür ein Bildschirmsystem genannt. Sie rollt auf zwei Rädern, durch die der zurückgelegte Weg ermittelt wird. Detaillierte Informationen zur Erfindung der Computer-Maus inklusive den Videos von Engelbarts legendären Demonstration seiner Erfindung, die er 1968 am Stanford Research Institute (SRI) vorführte, sind zu finden unter: http://sloan.stanford.edu/MouseSite. Wirklich populär wurde die Computer-Maus erst 1987, als die Zahl der grafischen Benutzeroberflächen rasant zunahm und außerdem in diesem Jahr das Patent für den X-Y-Positions-Anzeiger auslief. [caption id="attachment_343" align="alignnone" width="539"] Patentschrift zur Computer-Maus von Douglas C. Engelbart, 1970.[/caption] Die Computer-Maus erfuhr zahlreiche evolutionäre Etappen. Es gibt sie in zahlreichen Varianten, mal mit nur einer Taste, beim Mac-Rechner, oder mit drei Tasten, beim PC, einige haben ein Scrollrad, andere mehr als drei Tasten. Mit der Mighty Mouseversucht Macintosh einerseits der Eintasten-Maus treu zu bleiben, aber andererseits dem Bedarf nach einer Multifunktionsmaus gerecht zu werden. [caption id="attachment_344" align="alignnone" width="624"] Der Scrollball übernimmt bei der Mighty Mouse die Funktion des Scrollrads, kann allerdings nicht nur senkrechte Bewegungen steuern, sondern lässt sich wie einen Joystick bewegen. Mit dieser Maus kann man Klicken, Rollen, Drücken und Blättern. Vier Tasten sind zudem programmierbar.[/caption] Bereits die Computer-Maus aus den Anfängen des Personal Computers ermöglichte eine relativ präzise Auswahl, wenn man von den Folgen durch die Verschmutzung der Rollkugel einmal absieht. Ganz off ensichtlich scheinen die diesbezüglichen Verbesserungen in speziellen Bereichen bis heute nicht auszureichen. Die schweizerische Firma Force Dimension entwickelte das 3-DOF OMEGA Haptic Device, eine Computer-Maus, der man bereits ansieht, dass mit ihr eine bisher nicht erreichte Präzision möglich ist, sofern man dieses Gerät überhaupt noch als Computer-Maus erkennt. Die Entwickler nennen dieses Gerät auch selbst ›versatile Interface‹, was auch angemessener erscheint als die Bezeichnung Computer-Maus. Schließlich ist dieses Gerät für ein haptisches Interagieren in medizinischen Computerdarstellungen und anderen virtuellen Simulationen konzipiert. [caption id="attachment_345" align="alignnone" width="624"] 3-DOF OMEGA Haptic Device von Force Dimension (www.forcedimension.com).[/caption] Es gibt stets neue Entwicklungen im Funktionsbereich, den eine Computer-Maus abdeckt, so dass hier nur ein kleiner Einblick gegeben werden kann. Erwähnenswert wäre noch der ›Navigator‹, der in Zusammenarbeit mit Adobe und Logitech entwickelt wurde. Das Produkt heißt NuLOOQ Professional Seriesund besteht aus dem Eingabegerät ›Navigator‹ und der Soft ware ›Tooldial‹. Der Navigator besitzt einen Navigationsring, mit dem man z. B. zoomen kann, und ein Clickwheel, einem Drehrad, so wie man es vom iPod her kennt. Mit dem Clickwheel können z. B. die Werkzeuge und deren Größe verändert werden. Die Soft ware ›Tooldial‹ und diverse PlugIns der Adobe-Produkte sichern den reibungslosen und zweckdienlichen Dialog zwischen dem Navigator und der Adobe-Soft ware. Schade, dass man nur Adobe-Produkte mit ihm steuern kann. Seltsamerweise ist dieses vielseitige Werkzeug nur für den Macintosh erhältlich. [caption id="attachment_346" align="alignnone" width="473"] NuLOOQ Professional Series ist eine Entwicklung von Adobe und Logitech (siehe auch ›Scrollrad, Drehrad‹ in diesem Kapitel und ›Pie-Menü‹ im Kapitel ›Interactiondesign‹)[/caption] Ansonsten gibt es weitere taktile Eingabegeräte, die prinzipiell dasselbe ermöglichen wie eine Computer-Maus, die aber für spezialisierte Einsatzgebiete, wie z. B. für Anwender mit eingeschränkter Motorik, modifiziert wurden. Dank einer Erweiterung für den Browser FireFox kann man zumindest bei diesem Browser auch ganz ohne Computer-Maus navigieren. Mit Mouseless Browsingwird jedem Link automatisch eine Nummer zugewiesen, wodurch diese Entwicklung von Rudolf Noe die Mausbedienung im Browser vollständig ersetzen soll. Die Eingabe einer Zahl über die Tastatur genügt, um zu navigieren. [caption id="attachment_347" align="alignnone" width="624"] Navigation ohne Computer-Maus, sondern durch Eingabe der jeweiligen Nummer am Link (http://rudolf-noe.de).[/caption] Joystick Als die wesentlichste Veränderung der Computer-Maus kann wohl der Joystick gelten. Er ermöglicht zwar eine nicht ganz so präzise Steuerung wie die Computer-Maus, ist aber auch in erster Linie ein Steuergerät, mit dem nur eine Richtung vorgegeben wird. Wie bei der Steuerung eines Fahr- bzw. Fluggerätes ermöglicht der Joystick das Lenken in verschiedene Richtungen und den Vortrieb in die Richtung, in die man den Joystick zuletzt bewegt hat. Der Joystick eignet sich hervorragend dazu, den Computer-Cursor bzw. eine Markierung in die Richtungen rechts, links, hoch und runter zu bewegen. Für den präzisen Vortrieb ist er nicht so gut geeignet. Sofern man sich wie z. B. bei Computerspielen in virtuellen, dreidimensionalen Welten bewegt, fällt dieses Manko nicht so stark auf. Geht es allerdings darum, eine Schreibmarke mit dem Joystick in eine genaue Position im Text zu bewegen, werden die Grenzen dieses taktilen Eingabegerätes deutlich. Wer je ein IBM ThinkPad Notebook besaß und versuchte, den Trackpoint dieses Notebooks, einen Mini-Joystick, der sich zwischen den Tasten G, H und B, befindet, zu benutzen, musste schmerzhaft die Grenzen eines Joysticks kennen lernen. Da die wesentliche Funktion eines Joysticks allerdings in der Richtungsvorgabe besteht, waren die Pfeiltasten auf der Computer-Tastatur stets ein geeigneter Ersatz für den präziseren Vortrieb. Bei mobilen Geräten (Gameboy, Mobiltelefon, MP3-Player, Fernbedienung etc.) etablierten sich die NavigationKeysals Schalterwippe mit der OK-Taste in der Mitte als Joystick-Alternative. [caption id="attachment_348" align="alignnone" width="619"] Der klassische Joystick für die Computerkonsole.[/caption] [caption id="attachment_349" align="alignnone" width="624"] IBM bietet die Tastaturen M13 mit Joystick an, der hier Trackpoint genannt wird.[/caption] [caption id="attachment_350" align="alignnone" width="565"] Der Joystick im Renault Espace Laguna kann zusätzlich zu den Richtungen auch in Rotation bewegt werden und bietet durch sein Drehrad zahlreiche weitere Funktionsmöglichkeiten (siehe auch ›Scrollrad, Drehrad‹).[/caption] [caption id="attachment_351" align="alignnone" width="568"] Da sich die Pfeiltasten der Computertastatur und auch die Anordnung der meisten numerischen Tastaturen der Mobiltelefone als NavigationsKeys eignen, lag es nahe, einen Joystick-Aufsatz zu entwickeln. Der Mircosoft SideWind Turbo Joystick harmoniert mit jeder bei Mircosoft erhältlichen Hard- und Software.[/caption] [caption id="attachment_352" align="alignnone" width="551"] Der SnakeBITE-Joystick ist für Nokia-Telefone kompatibel.[/caption] [caption id="attachment_353" align="alignnone" width="624"] Auf Grund des einfachen Funktionsprinzips eignet sich der Joystick auch für Kinderspiele. V.Smile ist eine Lernkonsole für drei- bis achtjährige. Mit V.Smile wird der Fernseher zum interaktiven Lernmedium (Foto: © Vtech, www.vtech.com).[/caption] [caption id="attachment_354" align="alignnone" width="293"] Der Joystick oder entsprechende NavigationsKeys bieten sich bei mobilen Geräten zur Steuerung an, da diese in der Regel mit dem Daumen bedient werden. Das Mobiltelefon Samsung SCH-V450 macht beide Möglichkeiten sehr gut deutlich.[/caption] [caption id="attachment_355" align="alignnone" width="624"] Der Joystick ›X 52 Hotas‹ der Firma Saitek stellt wohl die größtmögliche Auslotung der Möglichkeiten eines Joysticks dar und heißt ›PC Flug-Steuerungs-System‹ (www.saitek.com).[/caption] Scrollrad/ Drehrad Als Alternative zum Joystick bietet sich das Scrollrad bzw. das Drehrad immer dann an, wenn die Auswahl nur horizontal bzw. vertikal verläuft. Das Scrollrad definiert bereits mit seiner Laufrichtung, wohin sich eine Auswahlmarkierung bewegt. Das Drehrad hat den Vorteil, Laufrichtungen sowohl in der Vertikalen als auch in der Horizontalen vornehmen zu können. Es kann außerdem Positionswinkel markieren, deren Auswahlangebot sich leicht merken lässt. Mit einem Scrollrad kann man nur ein Rauf oder Runter steuern. Die Position von Auswahlfeldern eines Menüs und deren Bedeutungen sind innerhalb einer Liste schwerer zu merken und zu finden, als in einer kreisförmigen Anordnung, die sich gedanklich in Winkelstücke (Tortenstücke) bzw. Richtungen (Norden, Süden, Westen, Osten etc.) vorstellen lässt. Eine Auflistung besitzt nicht diese Assoziationen, die im Sinne einer Erinnerungsstrategie (Mnemotechnik) funktionieren könnten. Das Drehrad bietet sich als taktiles Interface zur Interaktionssteuerung an, da es komplexe Auswahlvorgänge ermöglicht, ohne kompliziert zu sein (siehe auch unter ›Pie Menu‹ im Kapitel ›Interactiondesign‹). [caption id="attachment_356" align="alignnone" width="380"] Logitech Pilot Wheel Mouse (www.logitech.com).[/caption] Das Scrollrad findet seine Anwendung bei der Computer-Maus und bei zahlreichen mobilen Geräten. In der Regel kann mit ihm eine horizontale, manchmal auch eine vertikale Richtung angesteuert werden. Je nach Gerät kann das Scrollrad zur Bestätigung der Auswahl eingedrückt werden, um nicht eine weitere Taste bedienen zu müssen. Beim Mobiltelefon P910 von Sony Ericsson kann das Scrollrad zudem nach links und nach rechts gekippt werden, um zusätzliche Auswahlstrategien zu ermöglichen. So kann man z. B. in das nächste erreichbare Verzeichnis innerhalb einer Hierarchie wechseln. [caption id="attachment_357" align="alignnone" width="454"] Sony Ericsson P910 (www.sonyericsson.com/P910).[/caption] Die Scrollwalzehat dieselbe Funktion wie das Scrollrad. Der wesentliche Unterschied bei mobilen Geräten ist wohl, dass sich die Scrollwalze, nicht wie das Scrollrad an der schmalen Seite, sondern in der Regel in der Mitte der Nutzfläche des mobilen Gerätes befindet. Dadurch ist die Scrollwalze sowohl von Links- als auch von Rechtshändern gleichermaßen gut zu bedienen. [caption id="attachment_358" align="alignnone" width="359"] Sony Clio PEG-TJ37 mit Scrollwalze.[/caption] Das Interface von ›NuLOOQ Professional Series‹ macht deutlich, dass ein Drehrad neben den horizontalen und vertikalen Bewegungsrichtungen erweiterte Auswahlvorgänge ermöglicht, die sich so zwar auch mit einem Scrollrad bedienen ließen, allerdings nicht mit derselben Selbstverständlichkeit. Mit einem Drehrad lassen sich Positionen auch leichter merken und das Interface demnach schneller bedienen (siehe auch ›Computer-Maus‹ in diesem Artikel). Das i-Drive von BMW bietet dem Fahrer eine Auswahlbandbreite von 700 bis 900 Funktionen. Dies zeigt sehr deutlich, welch ein Potential ein Drehrad bieten kann. Ob es so hilfreich ist, so viele Funktionen nur über ein einziges taktiles Interface steuern zu können, wurde auch in den Automobil-Fachkreisen viel diskutiert. Einerseits schien es sinnvoll, alle Funktionen nur noch zentral über ein einziges Interface steuern zu können. Andererseits wurde erkannt, dass ein langer Navigationsweg sehr hinderlich sein kann, und zwar gerade dann, wenn man sich eigentlich auf den Straßenverkehr konzentrieren sollte. Je vielseitiger das Angebot in einem zentralen System, umso komplexer wird allerdings die Struktur und infolgedessen der Weg zur jeweils gesuchten Funktion. Das Drehrad vom i-Drive kann neben der Rotation zusätzlich in acht Richtungen gekippt bzw. geschoben werden. In diesen acht Richtungen können im Hauptmenü die folgenden acht Themen ausgewählt werden: Kommunikation, Bord-Daten, Navigation, Hilfe, Entertainment, Einstellungen und den Klima- und Telematikdienst BMW ASSIST. Angesteuert werden sie alle durch das Schieben des Controllers in die jeweilige Richtung. Durch die Drehbewegung des Drehrads, iDrive-Controller genannt, bewegt man sich innerhalb der Untermenüs, und durch Drücken des gesamten Rades nach unten wird die Auswahl bestätigt. Um das schnelle Rückspringen in das Hauptmenü zu erleichtern, wurden ab dem Modelljahr 2004 je nach Modell ein bzw. zwei zusätzliche Tasten unterhalb des Drehrads eingebaut. Außerdem wurden die acht Menüebenen mittlerweile auf vier reduziert, um die Bedienbarkeit des gesamten Systems zu vereinfachen. [caption id="attachment_359" align="alignnone" width="425"] i-Drive von BMW (Foto: BMW).[/caption] Apples iPod ist zur Zeit wohl das bekannteste Gerät mit Drehrad. Es lässt sich hervorragend mit dem Daumen steuern, sowohl von Links- als auch von Rechtshändern. [caption id="attachment_360" align="alignnone" width="393"] iPod von Apple[/caption] Beim Mobiltelefon Serene von Samsung, das in Kooperation mit Bang & Olufsen entstand, ist im Gegensatz zu beinahe allen anderen handelsüblichen mobilen Geräten die Tastatur oberhalb des Displays angebracht. Dadurch liegt es erheblich sicherer in der Hand und die rund angeordnete Tastatur mit dem zentralen Drehrad lässt sich mit dem Daumen gut bedienen. [caption id="attachment_361" align="alignnone" width="454"] Die Abbildung zeigt das Mobiltelefon richtig herum. Das Display befindet sich in der Tat auf der unteren Klappe (Foto: www.mobile-review.com).[/caption] Tastatur Die Tastatur ist neben der Computer-Maus ein ganz wesentliches Interface am Computer zur Eingabe von Daten, aber auch zum Auslösen von Funktionen. Neben der Texteingabe erfolgt über die Tastatur das Steuern des Betriebssystems und diverser Funktionen der Softwarepakete und Spiele mittels der F-Keys, der Pfeiltasten und der Steuertasten (Shift, Ctrl, Alt, Strg). Seitdem sich Menschen Gedanken darüber machen, wie man Texte mit Hilfe einer Maschine notieren kann, stellt sich die Frage, wie die Tasten des Eingabeinterfaces angeordnet sein müssen, um möglichst effizient, schnell und fehlerfrei schreiben zu können und diese Eingabefähigkeit möglichst schnell erlernen zu können. Seitdem gab es unzählige Versuche, die optimale Schreibmaschine bzw. die optimale Tastatur für einen Computer zu entwickeln. Im Folgenden wird zunächst die erfolgreichste Tastaturanordnung erläutert, die sich zwar durchgesetzt hat, aber deswegen nicht die beste Wahl darstellt, gefolgt von einigen Tastaturvarianten, mit denen tatsächlich versucht wurde, die Texteingabe zu revolutionieren. Andere Beispiele zeigen lediglich interessante Ergänzungen zur bestehenden Tastatur. Bezogen wird sich in diesem Textteil nur auf die Hardware-Tastaturen und nur auf solche für stationäre Geräte. Die Software-Tastaturen und andere Varianten für mobile Geräte werden im nachfolgenden Teil unter ›Texteingabe bei mobilen Geräten‹ beschrieben. [caption id="attachment_362" align="alignnone" width="624"] QWERTY-Tastatur.[/caption] [caption id="attachment_363" align="alignnone" width="624"] Dvorak-Tastatur.[/caption] Die Anordnung der einzelnen Buchstaben auf einer Tastatur gibt es so, wie man sie in der Regel aktuell vorfindet, nicht erst seit Einführung des Computers. Seit nun fast 140 Jahren hat sich bei den meisten Schreibmaschinen ein bestimmtes Schema der Tastenanordnung durchgesetzt. Christopher Latham Sholes ist der Erfinder der so genannten QWERTY-Tastatur, die er 1868 zum Patent anmeldete. Der Bezeichnungsanteil QWERTY für die amerikanisch/ englische Variante dieser Tastatur bzw. QWERTZ für die deutsche Variante ergibt sich aus der Anordnung der Tasten. Die Tastenanordnung QWERTY befindet sich bei der amerikanischen bzw. englischen Tastatur in der oberen Reihe links, direkt unter den Zahlen. Bei der deutschen Tastatur steht dort QWERTZ und bei der französischen AZERTY. Daran zeigt sich, dass die Anordnung der Tasten je nach Sprache eine andere sein kann. Das QWERTY-Tastaturlayout folgte seit 1868 nicht nur einer einfachen alphabetischen Reihenfolge, sondern der Suche nach Effizienz. [caption id="attachment_364" align="alignnone" width="624"] QWERTY-Tastatur, Remblick, USA, 1928 (Foto: Richard Polt).[/caption] Christopher Latham Sholes bemühte sich um eine Tastaturanordnung nach ergonomischen und mechanischen Prinzipien. Eigentlich erfüllte er beides gleichzeitig, indem er die häufig verwendeten Buchstaben möglichst weit voneinander entfernt unterbrachte, um ein Überkreuzen der Hände und Finger beim Tippen zu vermeiden. Er bezog sich dabei als Amerikaner selbstverständlich auf die englische Schreibweise und ordnete die dort am häufigsten vorkommenden Buchstaben T, N, I, O, A und E auch in der Buchstabenstempelmechanik der Schreibmaschine gleichmäßig verteilt an. Zudem vermiet er, dass häufig verwendete Buchstabenkombinationen, wie TH, ND oder HE direkt nebeneinander platziert waren, um ein Verheddern der Buchstabenstempel zu vermeiden. Die restlichen Buchstaben verteilte er dann wohl eher willkürlich. Durch die von Sholes konzipierte Tastaturanordnung wurden die Hindernisse für ein eventuelles Schnellschreiben stark gemindert und nicht etwa bewusst herbeigeführt. Eine Schreibstrategie wie das Zehnfingerschreibsystem gab es noch nicht. Bis in die zwanziger Jahre des letzten Jahrhunderts konkurrierte seine Tastaturenbelegung mit anderen, bis sich dann die QWERTY- bzw. QWERTZ-Tastatur durchsetzte. [caption id="attachment_365" align="alignnone" width="616"] Deutsche Schreibmaschine mit QWERTZ-Tastatur (Foto: Richard Polt).[/caption] Die wohl bekannteste Alternative zur QWERTY-Tastatur wurde um 1936 von dem Amerikaner August Dvorak vorgestellt. August Dvorak war mit seiner Dvorak-Tastaturin erster Linie an einer ergonomischen Tastenanordnung gelegen, die ein schnelles und ermüdungsarmes Schreiben ermöglichen sollte. Außerdem sollte der Umgang mit ihr möglichst einfach erlernbar sein. Dvorak ordnete die Vokale links und die am häufigsten verwendeten Konsonanten rechts an und achtete darauf, dass dabei die in der englischen Sprache am häufigsten verwendeten Buchstaben eine Reihe bildeten. Er wandte noch diverse andere Strategien an, die es ermöglichen sollten, die Effizienz des Tippens zu steigern. Obwohl die Vorzüge dieser Tastatur eindeutig zu sein schienen, konnte sie sich nicht durchsetzen. Einerseits wollten die Anwender nicht umlernen und die Industrie, die die QWERTY-Tastatur als Standard ansah, ihre Schreibkräfte nicht umschulen. Dies wäre nicht das erste Mal, dass sich ein Standard nicht wegen seiner Qualität etabliert und nicht weiterentwickelt, sondern wegen der Gewohnheit und Bequemlichkeit der Anwender. Untersuchungen durch die US-Wirtschaftswissenschaftler Stan Liebowitz und Stephen Margolis, die feststellen wollten, warum sich die Dvorak-Tastatur nicht durchsetzen konnte, obwohl ihre Vorteile offensichtlich zu sein schienen, haben allerdings ergeben, dass die Schreibgeschwindigkeitstests, die mit der Dvorak-Tastatur durchgeführt wurden und deren Ergebnisse stets enorme Leistungssteigerungen gegenüber der QWERTY-Tastatur erkennen ließen, in vielen Fällen von Dvorak selber betreut worden waren. Außerdem wurden die meisten von Liebowitz und Margolis überprüften Tests aus verschiedensten Gründen wissenschaftlichen Kriterien nicht gerecht. Der diesbezügliche Bericht von Stan Liebowitz und Stephen Margolis ist sehr aufschlussreich. (Liebo witz, Stan; Margolis, Stephen: The Fable of the Keys. Journal of Law & Economics vol. XXXIII, April 1990. Ebd.: http://wwwpub.utdallas.edu/~liebowit/keys1.html) Dieses ernüchternde Resultat hat es wohl allen anderen nachfolgenden Bestrebungen, das Tastaturlayout zu reformieren, entscheidend erschwert, Beachtung zu finden. Ob die Dvorak-Tastatur tatsächlich die ergonomischere Tastatur ist, wie gerne behauptet wurde, wird auf Grund der geringen Anzahl an Nutzern wohl nie abschließend ermittelt werden können. [caption id="attachment_366" align="alignnone" width="612"] Rooy, französische Schreibmaschine mit AZERTY-Tastatur, 1958 (Foto: Richard Polt).[/caption] Es gab noch zahlreiche weitere Versuche, die Tastatur zu optimieren. Douglas C. Engelbart z. B. erfand nach der Computer-Maus eine einhändig bedienbare Tastatur mit fünf Tasten, die er 1968 auf der Fall Joint Computer Conference (FJCC) vorstellte. Die Liste der seitdem erfundenen Tastaturen und tastaturähnlichen Eingabegeräten ist so lang, dass hier nur einige wenige spezielle Beispiele erwähnt werden sollen, die entweder echte Vorteile erahnen lassen oder zumindest interessant aussehen. Die Eingabegeräte, die sehr konkret auf Behinderungen abzielen, werden unter ›Barrierefreiheit – eine erweiterte Form der Usability‹ im Kapitel ›Usability‹ beschrieben. Bei der Tastatur ›Optimus‹ von Artemy Lebedev ist jede Taste ein kleines Display, realisiert mit der OLED-Technologie (Organische Licht Emittierende Dioden). Siehe zu OLED auch unter ›Farbe und ihre Darstellungsmedien‹ im Kapitel ›Gestaltungsgrundlagen‹. Mit dieser Tastatur wird die Diskussion über die QWERTY- oder Dvorak-Tastatur überflüssig, da jede Tastenbeschriftung nach Belieben belegt werden kann. Dies gilt auch für unterschiedliche Schriftzeichen oder die Belegung für spezielle Funktionen und Computerspiele. Die Suche nach Sonderzeichen auf der Tastatur hat ein Ende. Schließlich braucht man nur die Shift- oder Alt-Taste drücken, um auf der Tastatur die jeweils sich ändernden Tastenbeschriftungen erscheinen zu lassen. Angeboten werden soll diese Tastatur Ende 2006. [caption id="attachment_367" align="alignnone" width="425"] [/caption] [caption id="attachment_368" align="alignnone" width="494"] ›Optimus‹ von Artemy Lebedev (www.artlebedev.com).[/caption] Das Maxim™ Split Adjustable Keyboard von Kinesis macht die Bestrebungen nach einer ergonomisch optimierten Tastatur deutlich. Diese Tastatur bietet Auflageflächen für die Handballen und ist individuell der Neigung der Handpositionen anpassbar. Wie denn nun aus ergonomischer Sicht die optimale Tastatur aussieht, ist bis heute aber nicht bis ins letzte Detail wissenschaftlich erwiesen worden. [caption id="attachment_370" align="alignnone" width="624"] Das Maxim™ Split Adjustable Keyboard von Kinesis (www.kinesis-ergo.com).[/caption] Die us-amerikanische Firma Ergodex ermöglicht es dem Anwender, mit dem Ergodex DX1 seine eigene individualisierbare Tastaturzusammenzustellen. Jede einzelne Taste kann beliebig positioniert und belegt werden. Dies kann für Personen relevant sein, die in ihren motorischen Fähigkeiten eingeschränkt sind oder für Arbeits- oder Spielsituationen, bei denen nur bestimmte Tasten und Funktionen erforderlich sind. Über USB wird diese individualisierbare Tastatur am Computer angeschlossen. [caption id="attachment_371" align="alignnone" width="624"] Das Comfort Standard Keyboard ist ein sehr auffallendes Beispiel für ergonomische Tastaturen. Auch wenn es alle erdenklichen Justiermöglichkeiten bietet, so stellt sich doch die Frage, woher der Anwender wissen soll, welche Positionierung für ihn die geeignete ist (www.sforh.com).[/caption] Die Idee einen so genannten One-Hand-Keyboardzu entwickeln, eine Tastatur, die mit einer Hand bedient werden kann, hatte Douglas C. Engelbart bereits 1968. Seitdem gab es einige weitere Entwicklungen in diese Richtung. Das Kernziel dabei ist, die Komplexität der Tastatur im Benutzungs- und im Lernaufwand zu minimieren. Mit der Einhandtastatur FrogPad wurde es laut einer Studie möglich, dass ungeübte Anwender bereits binnen 10 Stunden eine Schreibgeschwindigkeit von 40 Worten in der Minute erreichen konnten. [caption id="attachment_372" align="alignnone" width="624"] [/caption] [caption id="attachment_373" align="alignnone" width="624"] Ergodex DX1 (www.ergodex.com).[/caption] Das FrogPadwird von der gleichnamigen Firma vertrieben und kann über einen USB-Anschluss bzw. über Bluetooth mit jedem Computer oder mit mobilen Geräten (Mobiltelefon, PDA, Pocketcomputer etc.) kommunizieren. FrogPad verfügt über 15 Haupttasten, mit denen die 15 meist benötigten Buchstaben direkt erreichbar sind. Die weiteren Buchstaben sind mittels Tastenkombinationen in Verbindung mit den anderen Tasten erreichbar. Alle Tasten sollen leicht mit einer Hand bedienbar sein. Für Rechts- und für Linkshänder gibt es jeweils unterschiedliche FrogPads. [caption id="attachment_374" align="alignnone" width="597"] [/caption] [caption id="attachment_375" align="alignnone" width="624"] FrogPad (www.frogpad.com).[/caption] Die Einhandtastatur Half Keyboard von Matias Corporation erscheint als die geeignete Tastatur für mobile Geräte und lässt sich bei Bedarf mit Riemen am Körper befestigen. Durch Betätigung der Leertaste kann man zwischen zwei Tastaturebenen wechseln, auf denen sich alle erforderlichen Tasten befinden. Wegen ihrer geringen Größe eignen sich kleine Tastaturen entsprechend gut für mobile Geräte. In diesem Zusammenhang ist auch zu bedenken, dass mit solchen, mit fünf Fingern bedienbaren Tastaturen schneller geschrieben werden kann, als es mit dem Daumen auf einer Mobiltelefontastatur je möglich wäre. Und beim Schreiben mit Hilfe eines Stiftes auf einer Softwaretastatur oder beim Schreiben mit einer Handschrifterkennungssoftware werden stets zwei Hände benötigt. Eine, um das Gerät und eine, um den Stift zu halten. Einhandtastaturen können zudem bei diversen motorisch bedingten Behinderungen eine Erleichterung darstellen. [caption id="attachment_376" align="alignnone" width="564"] [/caption] [caption id="attachment_377" align="alignnone" width="624"] Half Keyboard von Matias Corporation (Fotos: Courtesy of Matias Corporation. www.matias.ca).[/caption] TagType ist eine Tastatur, die es Japanern erleichtern soll, ihre Schriftzeichen in einen Computer eingeben zu können. In der Regel greifen auch Asiaten auf umfunktionierte QWERTY-Tastaturen zurück, obwohl deren Schriftzeichen viel komplexer sind als die der westlichen Kulturkreise. TagType stellt die am meisten benötigten Zeichen direkt als Tasten zur Verfügung. Alle anderen Zeichen müssen in Kombination mit weiteren Tasten gebildet werden. Das phonetische Alphabet des japanischen Kana Schreibsystems besteht aus 49 Silben, die man gedanklich in einer Matrix von zehn mal fünf Konsonanten und Vokalen abbilden kann. Die fünf Haupttasten, jeweils links und rechts angeordnet, entsprechen den zehn Konsonanten bzw. fünf Vokalen, so dass mit den Tasten alle Silben innerhalb der Matrix angesteuert werden können. [caption id="attachment_379" align="alignnone" width="421"] [/caption] [caption id="attachment_380" align="alignnone" width="624"] [/caption] [caption id="attachment_382" align="alignnone" width="624"] Die Fotos stammen von Yukio Shimizu und zeigen das TagType Garage Kit von 2003 (www.lleedd.com).[/caption] Mit TagType soll das Eingeben von Text vereinfacht werden und auch gerade dort zum Einsatz kommen, wo die Verwendung einer klassischen QWERTY-Tastatur ungünstig wäre. Außerdem wird von den Entwicklern angenommen, dass es für den Anwender besser ist, dieses Eingabegerät in beiden Händen halten zu können (zu müssen) und nicht zuletzt deswegen in jeder Sitz- und Liegeposition bedienen zu können. (Dieses Projekt wurde von Takram Design Engeneering, Shunji Yamanaka und Leading Edge Design vorangetrieben und an Sony und Benesse Corporation lizenziert.) Für mobile Geräte gibt es zahlreiche Varianten an faltbaren, klapp- und aufrollbaren Tastaturen. Sie verdeutlichen alle den oftmals hilflosen Versuch, den Komfort einer QWERTY-Tastatur mit der Mobilität und den geringen Abmessungen mobiler Geräte in Einklang zu bringen. Manche Probleme lassen sich jedoch nicht aus der Perspektive des bisher Bekannten lösen, wobei die projizierte virtuelle Tastatur von VKB Inc. noch den besten Kompromiss darstellt zwischen dem Bekannten und den Anforderungen, die sich durch die Mobilität ergeben. [caption id="attachment_383" align="alignnone" width="580"] Freedom Keyboard[/caption] [caption id="attachment_384" align="alignnone" width="569"] GrandTec Virtually Indestructible Keyboard für Palm - PLM-3000[/caption] [caption id="attachment_385" align="alignnone" width="624"] W.Keyboard[/caption] [caption id="attachment_386" align="alignnone" width="624"] Virtual Keyboard SX-1, www.vkb-tech.com[/caption] [caption id="attachment_387" align="alignnone" width="561"] Flexis FX100[/caption] [caption id="attachment_388" align="alignnone" width="624"] E-Bamboo Book, Studie von Wu-Ging Li und Wu-Jie Sun[/caption] [caption id="attachment_389" align="alignnone" width="584"] Studie von Shi-Ling Tsai[/caption] [caption id="attachment_390" align="alignnone" width="585"] Elek Tex® Wireless Fabric Keyboard, Courtesy of Eleksen[/caption] So wie Albert Einstein es einmal formulierte, dass sich »… kein Problem aus demselben Bewusstsein heraus lösen lässt, aus dem es erschaffen wurde …« wurde es Zeit, sich für mobile Geräte passende Alternativen zur klassischen QWERTY-Tastatur zu überlegen, die sich nicht nur in den Abmessungen vom etablierten Standard unterscheiden, sondern auch in den zur Verfügung gestellten Werkzeugen und im Vorgang der Texteingabe an sich. Einige mögliche Alternativen werden im nun folgenden Text beschrieben. Texteingabe bei mobilen Geräten Worte oder gar Texte in mobile Geräte einzugeben ist sehr mühsam. Dies ergibt sich aus den extrem geringen Abmessungen der Hardware- und Software-Tastaturen dieser kleinen Geräte, die ihrer Mobilität und ihres Hosentaschencharmes beraubt wären, würde man ihnen eine ergonomisch angemessene Hardware-Tastatur einbauen. Dass das Schreiben von Nachrichten mit einer reduzierten Tastatur wie der des mobilen Telefons vom Prinzip her möglich ist, wird vielen bewusst gewesen sein. Dass die Tastatur der Mobiltelefone aber tatsächlich intensiv zum Schreiben von Nachrichten genutzt werden würde, überraschte viele Experten der Telefonnetztbetreiber. Der Kurznachrichtendienst im Mobilfunk, besser bekannt als Short Message Service (SMS), wurde 1992 das erste Mal genutzt, und seit 2002 werden in Europa über 15 Milliarden SMS pro Monat versendet. Dies zeigt, dass auch ein scheinbar unergonomisches Interface vom Anwender angenommen wird, sobald sich ein für ihn relevanter Nutzwert ergibt. Um den Komfort bei der Texteingabe zu erhöhen, entwickelte die Firma Tegic die T9-Texteingabe, die bereits nach der Eingabe des ersten Buchstabens eine Buchstabenkombination oder das wahrscheinlichste Wort vorschlägt. T9 ist dabei automatisch lernfähig. Der Wortschatz des T9 kann aber auch vom Anwender gezielt erweitert werden. Diese Möglichkeit ändert allerdings nichts daran, dass bei aller Miniaturisierung eine vollwertige Tastatur immer noch am meisten Komfort bietet. Sie ist nur einfach zu groß für den mobilen Einsatz. Faltbare Tastaturen stellen aber oft nur eine Notlösung dar. Umso notwendiger ist es, sich geeigneter Lösungen zu bedienen, die für die Texteingabe ohne Tastatur auskommen und z. B. mit dem Stylus und einem drucksensitiven Display am mobilen Gerät möglich sind. Bis zur Entwicklung einer automatischen Schreibschrifterkennung bleibt als Alternative nur das Schreiben in einzelnen Buchstaben in einer vorgegebenen Schreibweise wie z. B. mit der Software Graffiti von Palm, deren Nutzung an die viel geschmähte Schönschrift erinnert. [caption id="attachment_391" align="alignnone" width="424"] Das Handschriftenalphabet Unistroke ist optimiert auf die einfache Erkennung durch einen Computer mit geringer Prozessorleistung. Jeder Buchstabe kann in einem Strich erstellt werden (www.ubiq.com/parctab/parctab.html).[/caption] [caption id="attachment_392" align="alignnone" width="624"] Der ParcTab gehört zu den ersten Personal Digital Assistants (PDA).[/caption] Zur Eingabe kann der komplette Touchscreen des ParcTab als Eingabefeld verwendet werden. Bei späteren PDAs, wie z. B. der Firma Palm, bzw. Smartphones, wie z. B. von Sony Ericsson, wird die Nutzung von Displaybereichen differenziert, indem z. B. im oberen Bereich die Großbuchstaben oder die Zahlen geschrieben werden und im unteren Bereich nur die Kleinbuchstaben. Beim Sony Ericsson P910i ist das Display sogar in drei Bereiche geteilt. Der mittlere Bereich des Displays ist für die Großbuchstaben, der obere für die Zahlen und der untere für die Kleinbuchstaben bestimmt. Da nicht mehr zuvor durch ein Zeichen definiert werden muss, ob man nun Großbuchstaben oder Kleinbuchstaben schreiben möchte, kann die Schreibweise beschleunigt werden. Außerdem werden durch die Trennung von Zahlenund Buchstabeneingabebereichen Verwechslungen durch die Schrifterkennungssoftware verringert. Die Texteingabe erfolgt bei dem PDA von Palm entweder über eine Softwaretastaturoder mit Hilfe der Software Graffiti. Diese ermöglicht wie Unistroke eine Handschrifterkennung, allerdings nur in ähnlich eingeschränkter Weise wie bei Unistroke. Die Art, wie man jeden einzelnen Buchstaben, jedes Zeichen und jede Zahl zu zeichnen hat, ist genau vorgegeben, damit Graffiti den Buchstaben auch erkennen kann. Diese Form des Schreibens muss geübt werden und macht gerade in der Anfangsphase zahlreiche Korrekturen erforderlich. [caption id="attachment_393" align="alignnone" width="624"] [/caption] [caption id="attachment_394" align="alignnone" width="624"] Graffiti Software[/caption] Möglicherweise durch ähnliche Umstände motiviert, entwickelte Shumin Zhai beim IBM-Almaden-Forschungszentrum in Kalifornien mit seinem Doktoranden Per-Ola Kristensson eine Eingabetechnik, die das Schreiben mittels einer Software-Tastatur schnell und einfach machen soll. Mit dem ›Shorthand Aided Rapid Keyboarding‹, kurz SHARK, werden Worte nicht mehr nur durch das einzelne Antippen von Softwaretasten geschrieben, sondern durch das Gleiten des Stiftes auf dem Display werden die Buchstaben in einer Bewegung, wie in einer Kette, miteinander zu Worten verbunden, ohne den Stift abzusetzen. (Das Projekt wurde im Jahr 2000 unter dem Titel ›The Metropolis Keyboard – An Exploration of Quantitative Techniques for Virtual Keyboard Design‹ am ›ACM Symposium on User Interface Software and Technology‹ vorgestellt.) Bei SHARK wird die Tastatur wie ein Menü verwendet. Diese Vorgehensweise der Buchstabenauswahl und Kombination zeigt sich auch am Beispiel von CIRRIN (the CIRculaR INput device), einem Texteingabesystem von Jennifer Mankoff und Gregory D. Abowed, veröffentlicht 1998, das dem Prinzip der Nutzung eines Menüs so sehr entspricht, dass es besser war, CIRRIN als Pie Menu nicht hier, sondern im Kapitel ›Interactiondesign‹ näher vorzustellen. Die Entwickler von SHARK behaupten, dass mit ihrem System das Schreiben effizienter wäre als per Handschrift und leichter zu lernen als traditionelle Stenoschrift. Es ist natürlich nicht möglich, viele Worte aus den jeweils benachbarten Buchstaben zu bilden. Dies ist auch nicht erforderlich, da SHARK das jeweils wahrscheinlichste Wort errechnet oder mehrere Treffer zur Auswahl anbietet. So ergibt z. B. die überstrichene Buchstabenkombination ›t-h-e-i-s‹ das Wort ›this‹ oder ›s-h-t-o-r-h-l-a-n-d-‹ ergibt ›shorthand‹. [caption id="attachment_395" align="alignnone" width="440"] Schreibstrecke, um das Wort ›finished‹ zu schreiben. CIRRIN (the CIRculaR INput device) ist ein Texteingabesystem, dass nach dem Prinzip eines Pie Menu funktioniert.[/caption] Dies setzt natürlich voraus, dass die einzelnen Tasten nicht nach dem Prinzip der QWERTZ- bzw. QWERTY-Tastatur angeordnet, sondern je nach Sprache zumindest für die häufigen bzw. kurzen Worte die entsprechenden Tasten benachbart sind und so zumindest diese Worte in einer leicht erkennbaren Schreibweise gebildet werden können. Darin steckt dann auch das entscheidende Hindernis für SHARK. Wer hat schon Lust, verschiedene Tastaturen verwenden zu müssen, nur um in unterschiedlichen Sprachen gleich gut schreiben zu können. Die Entwickler von SHARK arbeiten und testen zunächst mit der englischen Sprache, die im Vergleich zu anderen Sprachen den Vorteil hat, aus sehr vielen kurzen Worten zu bestehen und dass Worte nicht wie z. B. in der deutschen Sprache aus mehreren einzelnen Worten zusammengesetzt werden. Es dürfte auch sehr schwer sein, asiatische Schriftzeichen mit der SHARK-Schreibweise zu ›zeichnen‹. Aber SHARK sei, so Shumin Zhai, in erster Linie nicht für zeichenorientierte, sondern für alphabetische Sprachen konzipiert. Immerhin ergaben Tests im Almaden-Labor, dass die Probanden in englischer Sprache 40 bis 80 Wörter pro Minute schaffen. Mit der üblichen Schreibweise per Antippen einzelner Buchstabentasten mit einem Stift, per Grafitti-Software von Palm oder über das Tippen mit zwei Daumen auf einer minimalisierten Hardwaretastatur für mobile Geräte (PDA, Mobiltelefon, Pocketcomputer etc.) schafft man in der Regel nicht mehr als 15 Worte pro Minute. Um die Motivation zu wecken, den Umgang mit diesem Eingabeverfahren lernen zu wollen, haben sich die Entwickler von SHARK ein Spiel einfallen lassen, bei dem der Anwender Ballons zum Platzen bringen kann, sobald er die auf ihnen befindlichen Worte mit dem SHARK-Prinzip geschrieben hat. Da bislang keine zufriedenstellendere Lösung für die Texteingabe zur Verfügung steht, die wirklich gut funktioniert, erscheinen die Einschränkungen, die sich mit SHARK ergeben, akzeptabel. Eine wesentliche Eigenschaft der Softwaretastatur SHARK ist die vom Standard abweichende Anordnung der einzelnen Tasten. Diese Tastaturanordnung wird ATOMIK genannt (Alphabetically Tuned and Optimized Mobile Interface Keyboard). Bei IBM fiel bisher noch keine Entscheidung darüber, ob und in welcher Form SHARK vermarktet wird. Die Software kann kostenfrei heruntergeladen werden unter: www.shapewriter.com. [caption id="attachment_396" align="alignnone" width="581"] Diese Tastaturanordnung wird ATOMIK genannt (Alphabetically Tuned and Optimized Mobile Interface Keyboard).[/caption] [caption id="attachment_397" align="alignnone" width="624"] Wenn sich aus einer Buchstabenkombination, die sich aus dem Überstreichen mit einem Stift oder Finger über die Tastatur ergab, mehrere Worte bilden lassen, so werden diese in einer Liste angezeigt, aus der das gewünschte Wort ausgewählt werden kann.[/caption] [caption id="attachment_398" align="alignnone" width="397"] Bei dieser Tastatur sind die Tasten alphabetisch sortiert. Dadurch sind die einzelnen Buchstaben zwar leicht zu finden, die Strecken, die man mit Blicken und Zeigefinger bzw. Stift zurücklegen muss, um Worte zu bilden, sind allerdings relativ lang. Außerdem dauert die Suche nach den jeweiligen Buchstaben relativ lang, wenn man das Schreiben mit einer QWERTY- bzw. QWERTZ-Tastatur gewohnt ist.[/caption] Neben den sehr zahlreichen softwarebasierten Lösungen, die dem Versuch, mobilitätsadäquat zu sein, sehr nahe kommen, gibt es auch Hardwarelösungen, bei denen sich direkt am mobilen Gerät eine QWERTY-Tastatur befindet. Jeder, der es mal versucht hat, wird den Eindruck gewonnen haben, dass selbst das Schreiben einer SMS-Nachricht per Mobiltelefon- Tastatur einfacher ist, als mit miniaturisierten Hardware-QWERTYTastaturen hantieren zu müssen. [caption id="attachment_399" align="alignnone" width="616"] Nokia E50 (www.nokia.com).[/caption] [caption id="attachment_400" align="alignnone" width="186"] SonyEricsson P990 (www.sonyericsson.com).[/caption] [caption id="attachment_401" align="alignnone" width="434"] Nokia 9500 Communicator (www.nokia.com).[/caption] Im Rahmen ihrer Diplomarbeit entwickelte Susanne Stage eine kreisförmige Touchpad-Tastaturfür mobile Geräte, die alle Vorteile der Hardware-Tastatur, des Pie-Menu und des Drehrads in sich zu vereinen scheinen (siehe unter ›Scrollrad, Drehrad‹ in diesem Artikel und unter ›Pie Menu‹ im Kapitel ›Interactiondesign‹). (Diplomar beit von Susanne Stage, Institut für Industrial Design an der Hochschule Magdeburg-Stendal, Betreuung: Prof.in Carola Zwick und Prof.in Dr. Christine.) Das gesamte Gerät, das einhändig mit dem Daumen bedient werden kann, hat eine kreisrunde Fläche von 40 mm Durchmesser die in drei Ringe und zehn Winkel eingeteilt ist. Die drei Ringe stehen für die Buchstabenhäufigkeit. Die am häufigsten benutzten Buchstaben stehen im inneren Ring, die selten verwendeten im äußeren Ring, wodurch die Wege, die der Daumen zur Auswahl zurücklegen muss, möglichst kurz bleiben. Die Verwendung von Ringen und die Aufteilung in Winkel nutzen den Vorteil, dass man sich die Positionen der Buchstaben und die sich dahinter eventuell befindenden Funktionen besser merken kann, als wenn die Tasten horizontal bzw. vertikal aufgeteilt wären. Außerdem lassen sich kreisförmig angeordnete Tasten mit dem Daumen leichter erreichen, mit dem man grundsätzlich eher kreisförmige als rechtwinklige Bewegungen vollzieht. Die Tastatur ist oberhalb des Displays angebracht, so dass der Anwender das Gerät optimal in seine Hand legen, die kreisförmige Touchpad-Tastatur mit seinen Daumen bedienen kann und dennoch der Blick auf das Display frei ist. [caption id="attachment_402" align="alignnone" width="624"] Die einhändige Bedienung wird dadurch begünstigt, dass sich die Tastatur oberhalb des Displays befindet.[/caption] [caption id="attachment_403" align="alignnone" width="624"] Auch die Zwischenräume dienen als Tasten.[/caption] Eigentlich erstaunlich, dass bis auf das ›Serene‹ von Samsung, das in Kooperation mit Bang&Olufsen entstand, bei nahezu allen anderen handelsüblichen mobilen Geräten die Tastatur unterhalb des Displays angebracht ist, so dass man stets zwei Hände benötigt. Selbst beim Eintippen einer SMS-Nachricht besteht einhändig stets die Gefahr, dass einem das Gerät aus der Hand gleitet, da man nur das untere Stück des Gerätes in der Hand hält. Die von Susanne Stage entwickelte kreisförmige Touchpad-Tastatur für mobile Geräte ist damit eine angenehme Ausnahme. Die Zwischenräume der Zeichentasten sind mit weiteren Funktionen belegt. Doppelbelegungen der Zwischenräume werden durch ein einmaliges kurzes oder ein langes Berühren unterschieden. Mit dem Joystick in der Mitte kann die Schreibmarke in jede gewünschte Position bewegt werden. [caption id="attachment_404" align="alignnone" width="443"] Erstbelegung der Noppen mit Buchstaben.[/caption] [caption id="attachment_405" align="alignnone" width="441"] Zweitbelegung der Noppen mit Zahlen und Sonderzeichen.[/caption] Bei den 40 Tasten sind beim Entwurf von Susanne Stage die 30 Noppen und 10 Tasten in den Zwischenräumen doppelt belegt. Im inneren Ring befinden sich die am häufigsten benötigten Zeichen, somit auch die Zahlen (nach dem Umschalten der Tastenbelegung). Um den Aktionsradius des Daumens möglichst klein zu halten, sind die weniger häufig benötigten Zeichen außen angebracht. Außerdem sind oft verwendete Satzzeichen und Zusatzfunktionen im oberen Teil untergebracht, da dieser mit dem Daumen besser erreicht werden kann, als der untere Teil. Dieser Entwurf macht sehr deutlich, dass sich die Eigenschaften des Screendesigns sowohl auf Software-, als auch auf Hardware-Produkte beziehen lassen (siehe Artikel ›Screendesign‹). Die Farben können zielgruppenspezifisch gewählt werden. Für das Screendesign der Hardwaretastatur wird die Schrift FF Transit verwendet. Da sie sehr schmal ausfällt, genügt der Platz auf den Noppen auch für ein ›m‹ oder ein ›w‹. Die Erstbelegung mit Buchstaben wird mit der Transit in fett, 8 Punkt und weiß dargestellt. Zahlen und Sonderzeichen werden einen Punkt kleiner in einem Anthrazit und in der normalen Transit in bestimmten Winkeln neben bzw. unter den entsprechenden Noppen platziert, so dass eine visuelle Unterscheidung der Erst- und Zweitbelegung wahrgenommen werden kann. [caption id="attachment_406" align="alignnone" width="624"] [/caption] [caption id="attachment_407" align="alignnone" width="624"] Mit dem Screendesign der Hardwaretastatur können sowohl die Funktionalitäten als auch die Zielgruppendefinitionen bestimmt werden.[/caption] Gebote und Kriterien für Interfacedesign Je nach Absicht müssen Interfaces bestimmten Kriterien entsprechen. Dabei lässt sich nicht exakt bestimmen, welche Kriterien ausschließlich für welche Absicht bestimmt sind. Dafür sind die Kombinationsmöglichkeiten von Erzählformen, Wissensvermittlung, Unterhaltung und weiteren Absichten zu vielseitig. Auch hier gilt es, Ihre Kreativität anzuregen und nicht die Illusion zu vermitteln, es gäbe nur einen Weg zum Ziel bzw. ein einziges Schema zur Erstellung interaktiver Produkte. Im Kapitel ›Usability‹ gibt es zusätzliche Hinweise, wie die funktionalen Aspekte eines Interfaces zu berücksichtigen und diese in eine Gestaltungsabsicht zu integrieren sind. [caption id="attachment_409" align="alignnone" width="398"] Gebote und Kriterien für Interfacedesign[/caption] Durch das iPhone und Tablet-PCs, wie dem iPad, wird zunächst ein taktiler Kontakt zum Steuerungsgerät auf die Berührung einer glatten Oberfläche reduziert. Aber selbst dort gibt es Entwicklungen, die z.B. durch Vibration oder auch durch mechanische Veränderungen der Nutzeroberfläche ein taktiles Erleben ermöglichen wollen oder zumindest zu simulieren versuchen. Weiteres dazu finden Sie im Artikel ›Touchscreen - Taktile und Tangible Interfaces‹](https://www.torstenstapelkamp.de/wp-content/uploads/2017/07/02x-y-positionsanzeiger_02.png)
Douglas C. Engelbart und William English entwickelten 1963–64 am Stanford Research
Institute (SRI) den ›X-Y-Positions-Anzeiger für ein Bildschirmsystem‹ im Zusammenhang
mit Untersuchungen, wie man das Zeigen und Auswählen einzelner Elemente auf einem
Bildschirm ermöglichen kann.
Selbst ein bequemes Sofa kann als taktiles Interface gelten, wenn es so bequem ist, dass man gar nicht mehr hinaus möchte aus diesem guten Gefühl des Geborgenen. Wenn sich Verpackungen nicht öffnen oder nur ungünstig aufreißen lassen, erlebt man das taktile solcher Verschluss-Interfaces umso intensiver. Wenn das taktile Interface allerdings die Erwartungen, die es weckt, befriedigt und z. B. ein Bügelverschluss wie der einer bekannten Biermarke beim Benutzen (Öffnen) ein angenehmes Plopp-Geräusch macht, also geradezu rituell und somit in die Erzählform eingebunden das Benutzen dieses taktilen Interfaces zum spielerischen Ereignis werden lässt, ist der Kunde zufrieden und das Image von Produkt und Hersteller positiv geprägt. Haben Sie mal darüber nachgedacht, ob es nützlich sein könnte, wenn man durch Schütteln eines mobilen Gerätes unliebsame Textinhalte bewusst löschen könnte oder man den Anrufer bereits an der Art der Vibration des eigenen Mobiltelefons bzw. am Klingelton erkennt?
In den Labors des Massachusetts Institute of Technology (MIT) wird an so genannten ›Tangible Bits‹ geforscht. Sensoren messen am Mobiltelefon des Absenders z. B. den Druck von der Hand und modulieren daraus digitale Informationen. Bei Computerspielen werden solche Effekte ›Force Feedback‹ genannt und sind bereits Standard. Mit derselben Technologie, haptische Signale zu versenden, könnte man interessante Kommunikationsspiele veranstalten, oder Blinde bzw. Schwerhörige könnten barrierefrei Botschaften senden. Was ein Rückschritt ins Zeitalter des Morsealphabets zu sein scheint, kann bei genauerer Betrachtung als neue Strategie für taktile Interfaces verstanden werden.
![]()
Mit dem Graficon, einem experimentellen Eingabegerät aus dem Jahr 1963–64, wird die
Suche nach geeigneten Methoden deutlich, mit denen man auf die am Bildschirm
abgebildeten Inhalte eingreifen kann.
Wenn Sie taktile Interfaces entwickeln möchten, deren Nutzung ein Erlebnis darstellen oder zumindest eine Zufriedenheit auslösen sollen, dann sollten Sie Ihre Umwelt bis ins kleinste Detail bewusst wahrnehmen und auch die kleinen Erlebnisse, die Sie dabei machen, erfassen. Dann sind Sie gut vorbereitet, um die folgenden Interfaces neu zu überdenken: Computer-Maus, Joystick, Scrollrad bzw. Drehrad, Tastatur und die Texteingabe bei mobilen Geräten.
Computer-Maus
Erst mit der Computer-Maus wurde eine direkte Interaktion zwischen Mensch und Computer möglich, die auch als solche empfunden wird, unabhängig davon, ob der Cursor nun durch ein Pfeiloder ein Handsymbol dargestellt und so die virtuelle Hand des Anwenders bzw. die Verlängerung seines Armes repräsentiert wird. Die Computer-Maus wurde 1963/1964 von Douglas C. Engelbart und William English am Stanford Research Institute (SRI) entwickelt und wurde damals noch X-Y-Positions-Anzeigerfür ein Bildschirmsystem genannt. Sie rollt auf zwei Rädern, durch die der zurückgelegte Weg ermittelt wird. Detaillierte Informationen zur Erfindung der Computer-Maus inklusive den Videos von Engelbarts legendären Demonstration seiner Erfindung, die er 1968 am Stanford Research Institute (SRI) vorführte, sind zu finden unter: http://sloan.stanford.edu/MouseSite.
Wirklich populär wurde die Computer-Maus erst 1987, als die Zahl der grafischen Benutzeroberflächen rasant zunahm und außerdem in diesem Jahr das Patent für den X-Y-Positions-Anzeiger auslief.

Patentschrift zur Computer-Maus von Douglas C. Engelbart, 1970.
Die Computer-Maus erfuhr zahlreiche evolutionäre Etappen. Es gibt sie in zahlreichen Varianten, mal mit nur einer Taste, beim Mac-Rechner, oder mit drei Tasten, beim PC, einige haben ein Scrollrad, andere mehr als drei Tasten. Mit der Mighty Mouseversucht Macintosh einerseits der Eintasten-Maus treu zu bleiben, aber andererseits dem Bedarf nach einer Multifunktionsmaus gerecht zu werden.

Der Scrollball übernimmt bei der Mighty Mouse die Funktion des Scrollrads, kann allerdings nicht nur
senkrechte Bewegungen steuern, sondern lässt sich wie einen Joystick bewegen. Mit dieser Maus
kann man Klicken, Rollen, Drücken und Blättern. Vier Tasten sind zudem programmierbar.
Bereits die Computer-Maus aus den Anfängen des Personal Computers ermöglichte eine relativ präzise Auswahl, wenn man von den Folgen durch die Verschmutzung der Rollkugel einmal absieht. Ganz off ensichtlich scheinen die diesbezüglichen Verbesserungen in speziellen Bereichen bis heute nicht auszureichen. Die schweizerische Firma Force Dimension entwickelte das 3-DOF OMEGA Haptic Device, eine Computer-Maus, der man bereits ansieht, dass mit ihr eine bisher nicht erreichte Präzision möglich ist, sofern man dieses Gerät überhaupt noch als Computer-Maus erkennt. Die Entwickler nennen dieses Gerät auch selbst ›versatile Interface‹, was auch angemessener erscheint als die Bezeichnung Computer-Maus. Schließlich ist dieses Gerät für ein haptisches Interagieren in medizinischen Computerdarstellungen und anderen virtuellen Simulationen konzipiert.

3-DOF OMEGA Haptic Device von Force Dimension (www.forcedimension.com).
Es gibt stets neue Entwicklungen im Funktionsbereich, den eine Computer-Maus abdeckt, so dass hier nur ein kleiner Einblick gegeben werden kann. Erwähnenswert wäre noch der ›Navigator‹, der in Zusammenarbeit mit Adobe und Logitech entwickelt wurde. Das Produkt heißt NuLOOQ Professional Seriesund besteht aus dem Eingabegerät ›Navigator‹ und der Soft ware ›Tooldial‹. Der Navigator besitzt einen Navigationsring, mit dem man z. B. zoomen kann, und ein Clickwheel, einem Drehrad, so wie man es vom iPod her kennt. Mit dem Clickwheel können z. B. die Werkzeuge und deren Größe verändert werden. Die Soft ware ›Tooldial‹ und diverse PlugIns der Adobe-Produkte sichern den reibungslosen und zweckdienlichen Dialog zwischen dem Navigator und der Adobe-Soft ware. Schade, dass man nur Adobe-Produkte mit ihm steuern kann. Seltsamerweise ist dieses vielseitige Werkzeug nur für den Macintosh erhältlich.

NuLOOQ Professional Series ist eine Entwicklung von Adobe und Logitech
(siehe auch ›Scrollrad, Drehrad‹ in diesem Kapitel und ›Pie-Menü‹ im
Kapitel ›Interactiondesign‹)
Ansonsten gibt es weitere taktile Eingabegeräte, die prinzipiell dasselbe ermöglichen wie eine Computer-Maus, die aber für spezialisierte Einsatzgebiete, wie z. B. für Anwender mit eingeschränkter Motorik, modifiziert wurden.
Dank einer Erweiterung für den Browser FireFox kann man zumindest bei diesem Browser auch ganz ohne Computer-Maus navigieren. Mit Mouseless Browsingwird jedem Link automatisch eine Nummer zugewiesen, wodurch diese Entwicklung von Rudolf Noe die Mausbedienung im Browser vollständig ersetzen soll. Die Eingabe einer Zahl über die Tastatur genügt, um zu navigieren.

Navigation ohne Computer-Maus, sondern durch Eingabe der jeweiligen Nummer am Link
(http://rudolf-noe.de).
Joystick
Als die wesentlichste Veränderung der Computer-Maus kann wohl der Joystick gelten. Er ermöglicht zwar eine nicht ganz so präzise Steuerung wie die Computer-Maus, ist aber auch in erster Linie ein Steuergerät, mit dem nur eine Richtung vorgegeben wird. Wie bei der Steuerung eines Fahr- bzw. Fluggerätes ermöglicht der Joystick das Lenken in verschiedene Richtungen und den Vortrieb in die Richtung, in die man den Joystick zuletzt bewegt hat. Der Joystick eignet sich hervorragend dazu, den Computer-Cursor bzw. eine Markierung in die Richtungen rechts, links, hoch und runter zu bewegen. Für den präzisen Vortrieb ist er nicht so gut geeignet. Sofern man sich wie z. B. bei Computerspielen in virtuellen, dreidimensionalen Welten bewegt, fällt dieses Manko nicht so stark auf. Geht es allerdings darum, eine Schreibmarke mit dem Joystick in eine genaue Position im Text zu bewegen, werden die Grenzen dieses taktilen Eingabegerätes deutlich. Wer je ein IBM ThinkPad Notebook besaß und versuchte, den Trackpoint dieses Notebooks, einen Mini-Joystick, der sich zwischen den Tasten G, H und B, befindet, zu benutzen, musste schmerzhaft die Grenzen eines Joysticks kennen lernen. Da die wesentliche Funktion eines Joysticks allerdings in der Richtungsvorgabe besteht, waren die Pfeiltasten auf der Computer-Tastatur stets ein geeigneter Ersatz für den präziseren Vortrieb. Bei mobilen Geräten (Gameboy, Mobiltelefon, MP3-Player, Fernbedienung etc.) etablierten sich die NavigationKeysals Schalterwippe mit der OK-Taste in der Mitte als Joystick-Alternative.

Der klassische Joystick für die Computerkonsole.

IBM bietet die Tastaturen M13 mit Joystick an, der hier Trackpoint genannt wird.

Der Joystick im Renault Espace Laguna kann zusätzlich zu den Richtungen auch in
Rotation bewegt werden und bietet durch sein Drehrad zahlreiche weitere
Funktionsmöglichkeiten (siehe auch ›Scrollrad, Drehrad‹).

Da sich die Pfeiltasten der Computertastatur und auch die Anordnung der meisten
numerischen Tastaturen der Mobiltelefone als NavigationsKeys eignen, lag es nahe, einen
Joystick-Aufsatz zu entwickeln. Der Mircosoft SideWind Turbo Joystick harmoniert mit jeder
bei Mircosoft erhältlichen Hard- und Software.

Der SnakeBITE-Joystick ist für Nokia-Telefone kompatibel.

Auf Grund des einfachen Funktionsprinzips eignet sich der Joystick auch für Kinderspiele. V.Smile
ist eine Lernkonsole für drei- bis achtjährige. Mit V.Smile wird der Fernseher zum interaktiven
Lernmedium (Foto: © Vtech, www.vtech.com).

Der Joystick oder entsprechende
NavigationsKeys bieten sich bei
mobilen Geräten zur Steuerung an,
da diese in der Regel mit dem
Daumen bedient werden. Das
Mobiltelefon Samsung SCH-V450
macht beide Möglichkeiten sehr
gut deutlich.

Der Joystick ›X 52 Hotas‹ der Firma Saitek stellt wohl die größtmögliche Auslotung der
Möglichkeiten eines Joysticks dar und heißt ›PC Flug-Steuerungs-System‹ (www.saitek.com).
Scrollrad/ Drehrad
Als Alternative zum Joystick bietet sich das Scrollrad bzw. das Drehrad immer dann an, wenn die Auswahl nur horizontal bzw. vertikal verläuft. Das Scrollrad definiert bereits mit seiner Laufrichtung, wohin sich eine Auswahlmarkierung bewegt. Das Drehrad hat den Vorteil, Laufrichtungen sowohl in der Vertikalen als auch in der Horizontalen vornehmen zu können. Es kann außerdem Positionswinkel markieren, deren Auswahlangebot sich leicht merken lässt. Mit einem Scrollrad kann man nur ein Rauf oder Runter steuern. Die Position von Auswahlfeldern eines Menüs und deren Bedeutungen sind innerhalb einer Liste schwerer zu merken und zu finden, als in einer kreisförmigen Anordnung, die sich gedanklich in Winkelstücke (Tortenstücke) bzw. Richtungen (Norden, Süden, Westen, Osten etc.) vorstellen lässt. Eine Auflistung besitzt nicht diese Assoziationen, die im Sinne einer Erinnerungsstrategie (Mnemotechnik) funktionieren könnten. Das Drehrad bietet sich als taktiles Interface zur Interaktionssteuerung an, da es komplexe Auswahlvorgänge ermöglicht, ohne kompliziert zu sein (siehe auch unter ›Pie Menu‹ im Kapitel ›Interactiondesign‹).

Logitech Pilot Wheel Mouse (www.logitech.com).
Das Scrollrad findet seine Anwendung bei der Computer-Maus und bei zahlreichen mobilen Geräten. In der Regel kann mit ihm eine horizontale, manchmal auch eine vertikale Richtung angesteuert werden. Je nach Gerät kann das Scrollrad zur Bestätigung der Auswahl eingedrückt werden, um nicht eine weitere Taste bedienen zu müssen. Beim Mobiltelefon P910 von Sony Ericsson kann das Scrollrad zudem nach links und nach rechts gekippt werden, um zusätzliche Auswahlstrategien zu ermöglichen. So kann man z. B. in das nächste erreichbare Verzeichnis innerhalb einer Hierarchie wechseln.

Sony Ericsson P910 (www.sonyericsson.com/P910).
Die Scrollwalzehat dieselbe Funktion wie das Scrollrad. Der wesentliche Unterschied bei mobilen Geräten ist wohl, dass sich die Scrollwalze, nicht wie das Scrollrad an der schmalen Seite, sondern in der Regel in der Mitte der Nutzfläche des mobilen Gerätes befindet. Dadurch ist die Scrollwalze sowohl von Links- als auch von Rechtshändern gleichermaßen gut zu bedienen.

Sony Clio PEG-TJ37 mit Scrollwalze.
Das Interface von ›NuLOOQ Professional Series‹ macht deutlich, dass ein Drehrad neben den horizontalen und vertikalen Bewegungsrichtungen erweiterte Auswahlvorgänge ermöglicht, die sich so zwar auch mit einem Scrollrad bedienen ließen, allerdings nicht mit derselben Selbstverständlichkeit. Mit einem Drehrad lassen sich Positionen auch leichter merken und das Interface demnach schneller bedienen (siehe auch ›Computer-Maus‹ in diesem Artikel).
Das i-Drive von BMW bietet dem Fahrer eine Auswahlbandbreite von 700 bis 900 Funktionen. Dies zeigt sehr deutlich, welch ein Potential ein Drehrad bieten kann. Ob es so hilfreich ist, so viele Funktionen nur über ein einziges taktiles Interface steuern zu können, wurde auch in den Automobil-Fachkreisen viel diskutiert. Einerseits schien es sinnvoll, alle Funktionen nur noch zentral über ein einziges Interface steuern zu können. Andererseits wurde erkannt, dass ein langer Navigationsweg sehr hinderlich sein kann, und zwar gerade dann, wenn man sich eigentlich auf den Straßenverkehr konzentrieren sollte. Je vielseitiger das Angebot in einem zentralen System, umso komplexer wird allerdings die Struktur und infolgedessen der Weg zur jeweils gesuchten Funktion. Das Drehrad vom i-Drive kann neben der Rotation zusätzlich in acht Richtungen gekippt bzw. geschoben werden. In diesen acht Richtungen können im Hauptmenü die folgenden acht Themen ausgewählt werden: Kommunikation, Bord-Daten, Navigation, Hilfe, Entertainment, Einstellungen und den Klima- und Telematikdienst BMW ASSIST. Angesteuert werden sie alle durch das Schieben des Controllers in die jeweilige Richtung. Durch die Drehbewegung des Drehrads, iDrive-Controller genannt, bewegt man sich innerhalb der Untermenüs, und durch Drücken des gesamten Rades nach unten wird die Auswahl bestätigt. Um das schnelle Rückspringen in das Hauptmenü zu erleichtern, wurden ab dem Modelljahr 2004 je nach Modell ein bzw. zwei zusätzliche Tasten unterhalb des Drehrads eingebaut. Außerdem wurden die acht Menüebenen mittlerweile auf vier reduziert, um die Bedienbarkeit des gesamten Systems zu vereinfachen.

i-Drive von BMW (Foto: BMW).
Apples iPod ist zur Zeit wohl das bekannteste Gerät mit Drehrad. Es lässt sich hervorragend mit dem Daumen steuern, sowohl von Links- als auch von Rechtshändern.

iPod von Apple
Beim Mobiltelefon Serene von Samsung, das in Kooperation mit Bang & Olufsen entstand, ist im Gegensatz zu beinahe allen anderen handelsüblichen mobilen Geräten die Tastatur oberhalb des Displays angebracht. Dadurch liegt es erheblich sicherer in der Hand und die rund angeordnete Tastatur mit dem zentralen Drehrad lässt sich mit dem Daumen gut bedienen.

Die Abbildung zeigt das Mobiltelefon richtig herum. Das Display befindet
sich in der Tat auf der unteren Klappe (Foto: www.mobile-review.com).
.



Das iPhone Tastatur
Tastatur
Die Tastatur ist neben der Computer-Maus ein ganz wesentliches Interface am Computer zur Eingabe von Daten, aber auch zum Auslösen von Funktionen. Neben der Texteingabe erfolgt über die Tastatur das Steuern des Betriebssystems und diverser Funktionen der Softwarepakete und Spiele mittels der F-Keys, der Pfeiltasten und der Steuertasten (Shift, Ctrl, Alt, Strg).
Seitdem sich Menschen Gedanken darüber machen, wie man Texte mit Hilfe einer Maschine notieren kann, stellt sich die Frage, wie die Tasten des Eingabeinterfaces angeordnet sein müssen, um möglichst effizient, schnell und fehlerfrei schreiben zu können und diese Eingabefähigkeit möglichst schnell erlernen zu können. Seitdem gab es unzählige Versuche, die optimale Schreibmaschine bzw. die optimale Tastatur für einen Computer zu entwickeln. Im Folgenden wird zunächst die erfolgreichste Tastaturanordnung erläutert, die sich zwar durchgesetzt hat, aber deswegen nicht die beste Wahl darstellt, gefolgt von einigen Tastaturvarianten, mit denen tatsächlich versucht wurde, die Texteingabe zu revolutionieren. Andere Beispiele zeigen lediglich interessante Ergänzungen zur bestehenden Tastatur. Bezogen wird sich in diesem Textteil nur auf die Hardware-Tastaturen und nur auf solche für stationäre Geräte. Die Software-Tastaturen und andere Varianten für mobile Geräte werden im nachfolgenden Teil unter ›Texteingabe bei mobilen Geräten‹ beschrieben.

QWERTY-Tastatur.

Dvorak-Tastatur.
Die Anordnung der einzelnen Buchstaben auf einer Tastatur gibt es so, wie man sie in der Regel aktuell vorfindet, nicht erst seit Einführung des Computers. Seit nun fast 140 Jahren hat sich bei den meisten Schreibmaschinen ein bestimmtes Schema der Tastenanordnung durchgesetzt. Christopher Latham Sholes ist der Erfinder der so genannten QWERTY-Tastatur, die er 1868 zum Patent anmeldete. Der Bezeichnungsanteil QWERTY für die amerikanisch/ englische Variante dieser Tastatur bzw. QWERTZ für die deutsche Variante ergibt sich aus der Anordnung der Tasten. Die Tastenanordnung QWERTY befindet sich bei der amerikanischen bzw. englischen Tastatur in der oberen Reihe links, direkt unter den Zahlen. Bei der deutschen Tastatur steht dort QWERTZ und bei der französischen AZERTY. Daran zeigt sich, dass die Anordnung der Tasten je nach Sprache eine andere sein kann. Das QWERTY-Tastaturlayout folgte seit 1868 nicht nur einer einfachen alphabetischen Reihenfolge, sondern der Suche nach Effizienz.

QWERTY-Tastatur, Remblick, USA, 1928 (Foto: Richard Polt).
Christopher Latham Sholes bemühte sich um eine Tastaturanordnung nach ergonomischen und mechanischen Prinzipien. Eigentlich erfüllte er beides gleichzeitig, indem er die häufig verwendeten Buchstaben möglichst weit voneinander entfernt unterbrachte, um ein Überkreuzen der Hände und Finger beim Tippen zu vermeiden. Er bezog sich dabei als Amerikaner selbstverständlich auf die englische Schreibweise und ordnete die dort am häufigsten vorkommenden Buchstaben T, N, I, O, A und E auch in der Buchstabenstempelmechanik der Schreibmaschine gleichmäßig verteilt an.
Zudem vermiet er, dass häufig verwendete Buchstabenkombinationen, wie TH, ND oder HE direkt nebeneinander platziert waren, um ein Verheddern der Buchstabenstempel zu vermeiden. Die restlichen Buchstaben verteilte er dann wohl eher willkürlich. Durch die von Sholes konzipierte Tastaturanordnung wurden die Hindernisse für ein eventuelles Schnellschreiben stark gemindert und nicht etwa bewusst herbeigeführt. Eine Schreibstrategie wie das Zehnfingerschreibsystem gab es noch nicht. Bis in die zwanziger Jahre des letzten Jahrhunderts konkurrierte seine Tastaturenbelegung mit anderen, bis sich dann die QWERTY- bzw. QWERTZ-Tastatur durchsetzte.

Deutsche Schreibmaschine mit QWERTZ-Tastatur (Foto: Richard Polt).
Die wohl bekannteste Alternative zur QWERTY-Tastatur wurde um 1936 von dem Amerikaner August Dvorak vorgestellt. August Dvorak war mit seiner Dvorak-Tastaturin erster Linie an einer ergonomischen Tastenanordnung gelegen, die ein schnelles und ermüdungsarmes Schreiben ermöglichen sollte. Außerdem sollte der Umgang mit ihr möglichst einfach erlernbar sein. Dvorak ordnete die Vokale links und die am häufigsten verwendeten Konsonanten rechts an und achtete darauf, dass dabei die in der englischen Sprache am häufigsten verwendeten Buchstaben eine Reihe bildeten. Er wandte noch diverse andere Strategien an, die es ermöglichen sollten, die Effizienz des Tippens zu steigern.
Obwohl die Vorzüge dieser Tastatur eindeutig zu sein schienen, konnte sie sich nicht durchsetzen. Einerseits wollten die Anwender nicht umlernen und die Industrie, die die QWERTY-Tastatur als Standard ansah, ihre Schreibkräfte nicht umschulen. Dies wäre nicht das erste Mal, dass sich ein Standard nicht wegen seiner Qualität etabliert und nicht weiterentwickelt, sondern wegen der Gewohnheit und Bequemlichkeit der Anwender. Untersuchungen durch die US-Wirtschaftswissenschaftler Stan Liebowitz und Stephen Margolis, die feststellen wollten, warum sich die Dvorak-Tastatur nicht durchsetzen konnte, obwohl ihre Vorteile offensichtlich zu sein schienen, haben allerdings ergeben, dass die Schreibgeschwindigkeitstests, die mit der Dvorak-Tastatur durchgeführt wurden und deren Ergebnisse stets enorme Leistungssteigerungen gegenüber der QWERTY-Tastatur erkennen ließen, in vielen Fällen von Dvorak selber betreut worden waren. Außerdem wurden die meisten von Liebowitz und Margolis überprüften Tests aus verschiedensten Gründen wissenschaftlichen Kriterien nicht gerecht. Der diesbezügliche Bericht von Stan Liebowitz und Stephen Margolis ist sehr aufschlussreich. (Liebo witz, Stan; Margolis, Stephen: The Fable of the Keys. Journal of Law & Economics vol. XXXIII, April 1990. Ebd.: http://wwwpub.utdallas.edu/~liebowit/keys1.html) Dieses ernüchternde Resultat hat es wohl allen anderen nachfolgenden Bestrebungen, das Tastaturlayout zu reformieren, entscheidend erschwert, Beachtung zu finden. Ob die Dvorak-Tastatur tatsächlich die ergonomischere Tastatur ist, wie gerne behauptet wurde, wird auf Grund der geringen Anzahl an Nutzern wohl nie abschließend ermittelt werden können.

Rooy, französische Schreibmaschine mit AZERTY-Tastatur, 1958 (Foto: Richard Polt).
Es gab noch zahlreiche weitere Versuche, die Tastatur zu optimieren. Douglas C. Engelbart z. B. erfand nach der Computer-Maus eine einhändig bedienbare Tastatur mit fünf Tasten, die er 1968 auf der Fall Joint Computer Conference (FJCC) vorstellte. Die Liste der seitdem erfundenen Tastaturen und tastaturähnlichen Eingabegeräten ist so lang, dass hier nur einige wenige spezielle Beispiele erwähnt werden sollen, die entweder echte Vorteile erahnen lassen oder zumindest interessant aussehen. Die Eingabegeräte, die sehr konkret auf Behinderungen abzielen, werden unter ›Barrierefreiheit – eine erweiterte Form der Usability‹ im Kapitel ›Usability‹ beschrieben.
Bei der Tastatur ›Optimus‹ von Artemy Lebedev ist jede Taste ein kleines Display, realisiert mit der OLED-Technologie (Organische Licht Emittierende Dioden). Siehe zu OLED auch unter ›Farbe und ihre Darstellungsmedien‹ im Kapitel ›Gestaltungsgrundlagen‹. Mit dieser Tastatur wird die Diskussion über die QWERTY- oder Dvorak-Tastatur überflüssig, da jede Tastenbeschriftung nach Belieben belegt werden kann. Dies gilt auch für unterschiedliche Schriftzeichen oder die Belegung für spezielle Funktionen und Computerspiele. Die Suche nach Sonderzeichen auf der Tastatur hat ein Ende. Schließlich braucht man nur die Shift- oder Alt-Taste drücken, um auf der Tastatur die jeweils sich ändernden Tastenbeschriftungen erscheinen zu lassen. Angeboten werden soll diese Tastatur Ende 2006.


›Optimus‹ von Artemy Lebedev (www.artlebedev.com).

Ein Display als Tastatur führte Apple beim MacBook Pro 2016 als Zeile für Funktionstasten ein (© Apple).

MacBook Pro 2018 (© Apple).
.
Das Maxim™ Split Adjustable Keyboard von Kinesis macht die Bestrebungen nach einer ergonomisch optimierten Tastatur deutlich. Diese Tastatur bietet Auflageflächen für die Handballen und ist individuell der Neigung der Handpositionen anpassbar. Wie denn nun aus ergonomischer Sicht die optimale Tastatur aussieht, ist bis heute aber nicht bis ins letzte Detail wissenschaftlich erwiesen worden.

Das Maxim™ Split Adjustable Keyboard von Kinesis (www.kinesis-ergo.com).
Die us-amerikanische Firma Ergodex ermöglicht es dem Anwender, mit dem Ergodex DX1 seine eigene individualisierbare Tastaturzusammenzustellen. Jede einzelne Taste kann beliebig positioniert und belegt werden. Dies kann für Personen relevant sein, die in ihren motorischen Fähigkeiten eingeschränkt sind oder für Arbeits- oder Spielsituationen, bei denen nur bestimmte Tasten und Funktionen erforderlich sind. Über USB wird diese individualisierbare Tastatur am Computer angeschlossen.

Das Comfort Standard Keyboard ist ein sehr auffallendes Beispiel für ergonomische Tastaturen.
Auch wenn es alle erdenklichen Justiermöglichkeiten bietet, so stellt sich doch die Frage, woher der
Anwender wissen soll, welche Positionierung für ihn die geeignete ist (www.sforh.com).
Die Idee einen so genannten One-Hand-Keyboardzu entwickeln, eine Tastatur, die mit einer Hand bedient werden kann, hatte Douglas C. Engelbart bereits 1968. Seitdem gab es einige weitere Entwicklungen in diese Richtung. Das Kernziel dabei ist, die Komplexität der Tastatur im Benutzungs- und im Lernaufwand zu minimieren. Mit der Einhandtastatur FrogPad wurde es laut einer Studie möglich, dass ungeübte Anwender bereits binnen 10 Stunden eine Schreibgeschwindigkeit von 40 Worten in der Minute erreichen konnten.


Ergodex DX1 (www.ergodex.com).
Das FrogPadwird von der gleichnamigen Firma vertrieben und kann über einen USB-Anschluss bzw. über Bluetooth mit jedem Computer oder mit mobilen Geräten (Mobiltelefon, PDA, Pocketcomputer etc.) kommunizieren. FrogPad verfügt über 15 Haupttasten, mit denen die 15 meist benötigten Buchstaben direkt erreichbar sind. Die weiteren Buchstaben sind mittels Tastenkombinationen in Verbindung mit den anderen Tasten erreichbar. Alle Tasten sollen leicht mit einer Hand bedienbar sein. Für Rechts- und für Linkshänder gibt es jeweils unterschiedliche FrogPads.


FrogPad (www.frogpad.com).
Die Einhandtastatur Half Keyboard von Matias Corporation erscheint als die geeignete Tastatur für mobile Geräte und lässt sich bei Bedarf mit Riemen am Körper befestigen. Durch Betätigung der Leertaste kann man zwischen zwei Tastaturebenen wechseln, auf denen sich alle erforderlichen Tasten befinden.
Wegen ihrer geringen Größe eignen sich kleine Tastaturen entsprechend gut für mobile Geräte. In diesem Zusammenhang ist auch zu bedenken, dass mit solchen, mit fünf Fingern bedienbaren Tastaturen schneller geschrieben werden kann, als es mit dem Daumen auf einer Mobiltelefontastatur je möglich wäre. Und beim Schreiben mit Hilfe eines Stiftes auf einer Softwaretastatur oder beim Schreiben mit einer Handschrifterkennungssoftware werden stets zwei Hände benötigt. Eine, um das Gerät und eine, um den Stift zu halten. Einhandtastaturen können zudem bei diversen motorisch bedingten Behinderungen eine Erleichterung darstellen.


Half Keyboard von Matias Corporation (Fotos: Courtesy of Matias Corporation. www.matias.ca).
TagType ist eine Tastatur, die es Japanern erleichtern soll, ihre Schriftzeichen in einen Computer eingeben zu können. In der Regel greifen auch Asiaten auf umfunktionierte QWERTY-Tastaturen zurück, obwohl deren Schriftzeichen viel komplexer sind als die der westlichen Kulturkreise. TagType stellt die am meisten benötigten Zeichen direkt als Tasten zur Verfügung. Alle anderen Zeichen müssen in Kombination mit weiteren Tasten gebildet werden. Das phonetische Alphabet des japanischen Kana Schreibsystems besteht aus 49 Silben, die man gedanklich in einer Matrix von zehn mal fünf Konsonanten und Vokalen abbilden kann. Die fünf Haupttasten, jeweils links und rechts angeordnet, entsprechen den zehn Konsonanten bzw. fünf Vokalen, so dass mit den Tasten alle Silben innerhalb der Matrix angesteuert werden können.



Die Fotos stammen von Yukio Shimizu und zeigen das TagType Garage Kit von 2003
(www.lleedd.com).
Mit TagType soll das Eingeben von Text vereinfacht werden und auch gerade dort zum Einsatz kommen, wo die Verwendung einer klassischen QWERTY-Tastatur ungünstig wäre. Außerdem wird von den Entwicklern angenommen, dass es für den Anwender besser ist, dieses Eingabegerät in beiden Händen halten zu können (zu müssen) und nicht zuletzt deswegen in jeder Sitz- und Liegeposition bedienen zu können. (Dieses Projekt wurde von Takram Design Engeneering, Shunji Yamanaka und Leading Edge Design vorangetrieben und an Sony und Benesse Corporation lizenziert.)
Für mobile Geräte gibt es zahlreiche Varianten an faltbaren, klapp- und aufrollbaren Tastaturen. Sie verdeutlichen alle den oftmals hilflosen Versuch, den Komfort einer QWERTY-Tastatur mit der Mobilität und den geringen Abmessungen mobiler Geräte in Einklang zu bringen. Manche Probleme lassen sich jedoch nicht aus der Perspektive des bisher Bekannten lösen, wobei die projizierte virtuelle Tastatur von VKB Inc. noch den besten Kompromiss darstellt zwischen dem Bekannten und den Anforderungen, die sich durch die Mobilität ergeben.

Freedom Keyboard

GrandTec Virtually Indestructible Keyboard für Palm – PLM-3000

W.Keyboard

Virtual Keyboard SX-1, www.vkb-tech.com

Flexis FX100

E-Bamboo Book, Studie von Wu-Ging Li und Wu-Jie Sun

Studie von Shi-Ling Tsai

Elek Tex® Wireless Fabric Keyboard, Courtesy of Eleksen
So wie Albert Einstein es einmal formulierte, dass sich »… kein Problem aus demselben Bewusstsein heraus lösen lässt, aus dem es erschaffen wurde …« wurde es Zeit, sich für mobile Geräte passende Alternativen zur klassischen QWERTY-Tastatur zu überlegen, die sich nicht nur in den Abmessungen vom etablierten Standard unterscheiden, sondern auch in den zur Verfügung gestellten Werkzeugen und im Vorgang der Texteingabe an sich. Einige mögliche Alternativen werden im nun folgenden Text beschrieben.
Texteingabe bei mobilen Geräten
Worte oder gar Texte in mobile Geräte einzugeben ist sehr mühsam. Dies ergibt sich aus den extrem geringen Abmessungen der Hardware- und Software-Tastaturen dieser kleinen Geräte, die ihrer Mobilität und ihres Hosentaschencharmes beraubt wären, würde man ihnen eine ergonomisch angemessene Hardware-Tastatur einbauen. Dass das Schreiben von Nachrichten mit einer reduzierten Tastatur wie der des mobilen Telefons vom Prinzip her möglich ist, wird vielen bewusst gewesen sein. Dass die Tastatur der Mobiltelefone aber tatsächlich intensiv zum Schreiben von Nachrichten genutzt werden würde, überraschte viele Experten der Telefonnetztbetreiber. Der Kurznachrichtendienst im Mobilfunk, besser bekannt als Short Message Service (SMS), wurde 1992 das erste Mal genutzt, und seit 2002 werden in Europa über 15 Milliarden SMS pro Monat versendet. Dies zeigt, dass auch ein scheinbar unergonomisches Interface vom Anwender angenommen wird, sobald sich ein für ihn relevanter Nutzwert ergibt. Um den Komfort bei der Texteingabe zu erhöhen, entwickelte die Firma Tegic die T9-Texteingabe, die bereits nach der Eingabe des ersten Buchstabens eine Buchstabenkombination oder das wahrscheinlichste Wort vorschlägt. T9 ist dabei automatisch lernfähig. Der Wortschatz des T9 kann aber auch vom Anwender gezielt erweitert werden. Diese Möglichkeit ändert allerdings nichts daran, dass bei aller Miniaturisierung eine vollwertige Tastatur immer noch am meisten Komfort bietet. Sie ist nur einfach zu groß für den mobilen Einsatz. Faltbare Tastaturen stellen aber oft nur eine Notlösung dar. Umso notwendiger ist es, sich geeigneter Lösungen zu bedienen, die für die Texteingabe ohne Tastatur auskommen und z. B. mit dem Stylus und einem drucksensitiven Display am mobilen Gerät möglich sind. Bis zur Entwicklung einer automatischen Schreibschrifterkennung bleibt als Alternative nur das Schreiben in einzelnen Buchstaben in einer vorgegebenen Schreibweise wie z. B. mit der Software Graffiti von Palm, deren Nutzung an die viel geschmähte Schönschrift erinnert.

Das Handschriftenalphabet Unistroke ist optimiert auf die einfache
Erkennung durch einen Computer mit geringer Prozessorleistung.
Jeder Buchstabe kann in einem Strich erstellt werden
(www.ubiq.com/parctab/parctab.html).

Der ParcTab gehört zu den ersten Personal Digital Assistants (PDA).
Zur Eingabe kann der komplette Touchscreen des ParcTab als Eingabefeld verwendet werden. Bei späteren PDAs, wie z. B. der Firma Palm, bzw. Smartphones, wie z. B. von Sony Ericsson, wird die Nutzung von Displaybereichen differenziert, indem z. B. im oberen Bereich die Großbuchstaben oder die Zahlen geschrieben werden und im unteren Bereich nur die Kleinbuchstaben. Beim Sony Ericsson P910i ist das Display sogar in drei Bereiche geteilt. Der mittlere Bereich des Displays ist für die Großbuchstaben, der obere für die Zahlen und der untere für die Kleinbuchstaben bestimmt. Da nicht mehr zuvor durch ein Zeichen definiert werden muss, ob man nun Großbuchstaben oder Kleinbuchstaben schreiben möchte, kann die Schreibweise beschleunigt werden. Außerdem werden durch die Trennung von Zahlenund Buchstabeneingabebereichen Verwechslungen durch die Schrifterkennungssoftware verringert.
Die Texteingabe erfolgt bei dem PDA von Palm entweder über eine Softwaretastaturoder mit Hilfe der Software Graffiti. Diese ermöglicht wie Unistroke eine Handschrifterkennung, allerdings nur in ähnlich eingeschränkter Weise wie bei Unistroke. Die Art, wie man jeden einzelnen Buchstaben, jedes Zeichen und jede Zahl zu zeichnen hat, ist genau vorgegeben, damit Graffiti den Buchstaben auch erkennen kann. Diese Form des Schreibens muss geübt werden und macht gerade in der Anfangsphase zahlreiche Korrekturen erforderlich.


Graffiti Software
Möglicherweise durch ähnliche Umstände motiviert, entwickelte Shumin Zhai beim IBM-Almaden-Forschungszentrum in Kalifornien mit seinem Doktoranden Per-Ola Kristensson eine Eingabetechnik, die das Schreiben mittels einer Software-Tastatur schnell und einfach machen soll. Mit dem ›Shorthand Aided Rapid Keyboarding‹, kurz SHARK, werden Worte nicht mehr nur durch das einzelne Antippen von Softwaretasten geschrieben, sondern durch das Gleiten des Stiftes auf dem Display werden die Buchstaben in einer Bewegung, wie in einer Kette, miteinander zu Worten verbunden, ohne den Stift abzusetzen. (Das Projekt wurde im Jahr 2000 unter dem Titel ›The Metropolis Keyboard – An Exploration of Quantitative Techniques for Virtual Keyboard Design‹ am ›ACM Symposium on User Interface Software and Technology‹ vorgestellt.)
Bei SHARK wird die Tastatur wie ein Menü verwendet. Diese Vorgehensweise der Buchstabenauswahl und Kombination zeigt sich auch am Beispiel von CIRRIN (the CIRculaR INput device), einem Texteingabesystem von Jennifer Mankoff und Gregory D. Abowed, veröffentlicht 1998, das dem Prinzip der Nutzung eines Menüs so sehr entspricht, dass es besser war, CIRRIN als Pie Menu nicht hier, sondern im Kapitel ›Interactiondesign‹ näher vorzustellen.
Die Entwickler von SHARK behaupten, dass mit ihrem System das Schreiben effizienter wäre als per Handschrift und leichter zu lernen als traditionelle Stenoschrift. Es ist natürlich nicht möglich, viele Worte aus den jeweils benachbarten Buchstaben zu bilden. Dies ist auch nicht erforderlich, da SHARK das jeweils wahrscheinlichste Wort errechnet oder mehrere Treffer zur Auswahl anbietet. So ergibt z. B. die überstrichene Buchstabenkombination ›t-h-e-i-s‹ das Wort ›this‹ oder ›s-h-t-o-r-h-l-a-n-d-‹ ergibt ›shorthand‹.

Schreibstrecke, um das Wort ›finished‹ zu schreiben. CIRRIN (the
CIRculaR INput device) ist ein Texteingabesystem, dass nach dem
Prinzip eines Pie Menu funktioniert.
Dies setzt natürlich voraus, dass die einzelnen Tasten nicht nach dem Prinzip der QWERTZ- bzw. QWERTY-Tastatur angeordnet, sondern je nach Sprache zumindest für die häufigen bzw. kurzen Worte die entsprechenden Tasten benachbart sind und so zumindest diese Worte in einer leicht erkennbaren Schreibweise gebildet werden können. Darin steckt dann auch das entscheidende Hindernis für SHARK. Wer hat schon Lust, verschiedene Tastaturen verwenden zu müssen, nur um in unterschiedlichen Sprachen gleich gut schreiben zu können. Die Entwickler von SHARK arbeiten und testen zunächst mit der englischen Sprache, die im Vergleich zu anderen Sprachen den Vorteil hat, aus sehr vielen kurzen Worten zu bestehen und dass Worte nicht wie z. B. in der deutschen Sprache aus mehreren einzelnen Worten zusammengesetzt werden. Es dürfte auch sehr schwer sein, asiatische Schriftzeichen mit der SHARK-Schreibweise zu ›zeichnen‹. Aber SHARK sei, so Shumin Zhai, in erster Linie nicht für zeichenorientierte, sondern für alphabetische Sprachen konzipiert. Immerhin ergaben Tests im Almaden-Labor, dass die Probanden in englischer Sprache 40 bis 80 Wörter pro Minute schaffen. Mit der üblichen Schreibweise per Antippen einzelner Buchstabentasten mit einem Stift, per Grafitti-Software von Palm oder über das Tippen mit zwei Daumen auf einer minimalisierten Hardwaretastatur für mobile Geräte (PDA, Mobiltelefon, Pocketcomputer etc.) schafft man in der Regel nicht mehr als 15 Worte pro Minute. Um die Motivation zu wecken, den Umgang mit diesem Eingabeverfahren lernen zu wollen, haben sich die Entwickler von SHARK ein Spiel einfallen lassen, bei dem der Anwender Ballons zum Platzen bringen kann, sobald er die auf ihnen befindlichen Worte mit dem SHARK-Prinzip geschrieben hat.
Da bislang keine zufriedenstellendere Lösung für die Texteingabe zur Verfügung steht, die wirklich gut funktioniert, erscheinen die Einschränkungen, die sich mit SHARK ergeben, akzeptabel.
Eine wesentliche Eigenschaft der Softwaretastatur SHARK ist die vom Standard abweichende Anordnung der einzelnen Tasten. Diese Tastaturanordnung wird ATOMIK genannt (Alphabetically Tuned and Optimized Mobile Interface Keyboard). Bei IBM fiel bisher noch keine Entscheidung darüber, ob und in welcher Form SHARK vermarktet wird. Die Software kann kostenfrei heruntergeladen werden unter: www.shapewriter.com.

Diese Tastaturanordnung wird ATOMIK genannt (Alphabetically Tuned and Optimized Mobile
Interface Keyboard).

Wenn sich aus einer Buchstabenkombination, die sich aus dem Überstreichen mit einem Stift oder
Finger über die Tastatur ergab, mehrere Worte bilden lassen, so werden diese in einer Liste
angezeigt, aus der das gewünschte Wort ausgewählt werden kann.

Bei dieser Tastatur sind die Tasten alphabetisch sortiert.
Dadurch sind die einzelnen Buchstaben zwar leicht zu finden,
die Strecken, die man mit Blicken und Zeigefinger bzw. Stift
zurücklegen muss, um Worte zu bilden, sind allerdings relativ
lang. Außerdem dauert die Suche nach den jeweiligen
Buchstaben relativ lang, wenn man das Schreiben mit einer
QWERTY- bzw. QWERTZ-Tastatur gewohnt ist.
Neben den sehr zahlreichen softwarebasierten Lösungen, die dem Versuch, mobilitätsadäquat zu sein, sehr nahe kommen, gibt es auch Hardwarelösungen, bei denen sich direkt am mobilen Gerät eine QWERTY-Tastatur befindet. Jeder, der es mal versucht hat, wird den Eindruck gewonnen haben, dass selbst das Schreiben einer SMS-Nachricht per Mobiltelefon- Tastatur einfacher ist, als mit miniaturisierten Hardware-QWERTYTastaturen hantieren zu müssen.

Nokia E50 (www.nokia.com).

SonyEricsson P990
(www.sonyericsson.com).

Nokia 9500 Communicator (www.nokia.com).
Im Rahmen ihrer Diplomarbeit entwickelte Susanne Stage eine kreisförmige Touchpad-Tastaturfür mobile Geräte, die alle Vorteile der Hardware-Tastatur, des Pie-Menu und des Drehrads in sich zu vereinen scheinen (siehe unter ›Scrollrad, Drehrad‹ in diesem Artikel und unter ›Pie Menu‹ im Kapitel ›Interactiondesign‹). (Diplomar beit von Susanne Stage, Institut für Industrial Design an der Hochschule Magdeburg-Stendal, Betreuung: Prof.in Carola Zwick und Prof.in Dr. Christine.)
Das gesamte Gerät, das einhändig mit dem Daumen bedient werden kann, hat eine kreisrunde Fläche von 40 mm Durchmesser die in drei Ringe und zehn Winkel eingeteilt ist. Die drei Ringe stehen für die Buchstabenhäufigkeit. Die am häufigsten benutzten Buchstaben stehen im inneren Ring, die selten verwendeten im äußeren Ring, wodurch die Wege, die der Daumen zur Auswahl zurücklegen muss, möglichst kurz bleiben.
Die Verwendung von Ringen und die Aufteilung in Winkel nutzen den Vorteil, dass man sich die Positionen der Buchstaben und die sich dahinter eventuell befindenden Funktionen besser merken kann, als wenn die Tasten horizontal bzw. vertikal aufgeteilt wären. Außerdem lassen sich kreisförmig angeordnete Tasten mit dem Daumen leichter erreichen, mit dem man grundsätzlich eher kreisförmige als rechtwinklige Bewegungen vollzieht. Die Tastatur ist oberhalb des Displays angebracht, so dass der Anwender das Gerät optimal in seine Hand legen, die kreisförmige Touchpad-Tastatur mit seinen Daumen bedienen kann und dennoch der Blick auf das Display frei ist.

Die einhändige Bedienung wird dadurch begünstigt, dass sich die Tastatur oberhalb des Displays
befindet.

Auch die Zwischenräume dienen als Tasten.
Eigentlich erstaunlich, dass bis auf das ›Serene‹ von Samsung, das in Kooperation mit Bang&Olufsen entstand, bei nahezu allen anderen handelsüblichen mobilen Geräten die Tastatur unterhalb des Displays angebracht ist, so dass man stets zwei Hände benötigt. Selbst beim Eintippen einer SMS-Nachricht besteht einhändig stets die Gefahr, dass einem das Gerät aus der Hand gleitet, da man nur das untere Stück des Gerätes in der Hand hält. Die von Susanne Stage entwickelte kreisförmige Touchpad-Tastatur für mobile Geräte ist damit eine angenehme Ausnahme. Die Zwischenräume der Zeichentasten sind mit weiteren Funktionen belegt. Doppelbelegungen der Zwischenräume werden durch ein einmaliges kurzes oder ein langes Berühren unterschieden. Mit dem Joystick in der Mitte kann die Schreibmarke in jede gewünschte Position bewegt werden.

Erstbelegung der Noppen mit Buchstaben.

Zweitbelegung der Noppen mit Zahlen und Sonderzeichen.
Bei den 40 Tasten sind beim Entwurf von Susanne Stage die 30 Noppen und 10 Tasten in den Zwischenräumen doppelt belegt. Im inneren Ring befinden sich die am häufigsten benötigten Zeichen, somit auch die Zahlen (nach dem Umschalten der Tastenbelegung). Um den Aktionsradius des Daumens möglichst klein zu halten, sind die weniger häufig benötigten Zeichen außen angebracht. Außerdem sind oft verwendete Satzzeichen und Zusatzfunktionen im oberen Teil untergebracht, da dieser mit dem Daumen besser erreicht werden kann, als der untere Teil.
Dieser Entwurf macht sehr deutlich, dass sich die Eigenschaften des Screendesigns sowohl auf Software-, als auch auf Hardware-Produkte beziehen lassen (siehe Artikel ›Screendesign‹). Die Farben können zielgruppenspezifisch gewählt werden. Für das Screendesign der Hardwaretastatur wird die Schrift FF Transit verwendet. Da sie sehr schmal ausfällt, genügt der Platz auf den Noppen auch für ein ›m‹ oder ein ›w‹. Die Erstbelegung mit Buchstaben wird mit der Transit in fett, 8 Punkt und weiß dargestellt. Zahlen und Sonderzeichen werden einen Punkt kleiner in einem Anthrazit und in der normalen Transit in bestimmten Winkeln neben bzw. unter den entsprechenden Noppen platziert, so dass eine visuelle Unterscheidung der Erst- und Zweitbelegung wahrgenommen werden kann.


Mit dem Screendesign der Hardwaretastatur können sowohl die Funktionalitäten als auch die
Zielgruppendefinitionen bestimmt werden.
.

Nun gibt es auch für iPads passende Hardware-Tastaturen, so das es ein Convertible oder fast schon als Laptop gelten könnte. Leider ist die Original Apple Tastatur so teuer, dass sich fast der Kauf eines MacBook Air lohnt (© Apple).
Gebote und Kriterien für Interfacedesign
Je nach Absicht müssen Interfaces bestimmten Kriterien entsprechen. Dabei lässt sich nicht exakt bestimmen, welche Kriterien ausschließlich für welche Absicht bestimmt sind. Dafür sind die Kombinationsmöglichkeiten von Erzählformen, Wissensvermittlung, Unterhaltung und weiteren Absichten zu vielseitig. Auch hier gilt es, Ihre Kreativität anzuregen und nicht die Illusion zu vermitteln, es gäbe nur einen Weg zum Ziel bzw. ein einziges Schema zur Erstellung interaktiver Produkte.
Im Kapitel ›Usability‹ gibt es zusätzliche Hinweise, wie die funktionalen Aspekte eines Interfaces zu berücksichtigen und diese in eine Gestaltungsabsicht zu integrieren sind.

Gebote und Kriterien für Interfacedesign
Durch das iPhone und Tablet-PCs, wie dem iPad, wird zunächst ein taktiler Kontakt zum Steuerungsgerät auf die Berührung einer glatten Oberfläche reduziert. Aber selbst dort gibt es Entwicklungen, die z.B. durch Vibration oder auch durch mechanische Veränderungen der Nutzeroberfläche ein taktiles Erleben ermöglichen wollen oder zumindest zu simulieren versuchen. Weiteres dazu finden Sie im Artikel ›Touchscreen – Taktile und Tangible Interfaces‹


